Curiosii for ever!: Car repair manuals for everyone.

Operation





OPERATION





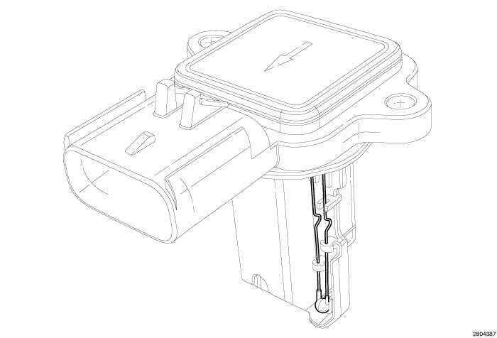
The 8.4L V10 engine uses two Mass Air Flow (MAF) Sensors. The Inlet Air Temperature (IAT) sensors are integrated into the MAF sensors. The MAF sensor measures the volume and density of air entering the engine at any given time. The computer uses this information in conjunction with input from other sensors to calculate the correct amount of fuel to deliver to the engine. Input from this sensor is also used indirectly to help calculate desired ignition timing and transmission operating strategies. The MAF sensors are designed as hot wire sensors. Hot wire sensors pass current across a platinum wire. The current level is regulated to maintain the hot wire at a predetermined temperature.

As air passes across the MAF sensor, the hot wire cools, as a result increasing the amount of current needed to keep the wire at the specified temperature. The amount the wire is cooled is directly proportional to the temperature density and humidity of the air passing through the sensor, the increase in current needed to heat the wire allows the computer to easily calculate the volume of air entering the engine.

For MAF sensor removal Removal.