Curiosii for ever!: Car repair manuals for everyone.

Wheel Alignment






WHEEL ALIGNMENT

NOTE: Wheel alignment must be checked and adjusted to the preferred specifications with the vehicle at Design Height rather than at Curb Height.

1. Place vehicle on wheel alignment rack or drive-on lift per equipment manufacturer's recommendations.
2. Perform pre-wheel alignment inspection Service and Repair.
3. Set vehicle to specified design height. Service and Repair.
4. Remove Suspension Height Gages, Special Tools 6914 and 8897, from vehicle.
5. Attach wheel alignment equipment following equipment manufacturer's instructions.

NOTE: Align the vehicle starting with the rear suspension, then proceed to the front suspension. Always set toe last.

6. Proceed with Camber And Caster Angle.

CAMBER AND CASTER ANGLE

Camber and caster angles on this vehicle are adjustable using cams located on the lower control arm bushing pivot bolts. Both front and rear camber and caster are adjustable on this vehicle. Camber readings are viewed on the wheel alignment equipment, but caster readings are viewed on the scan tool as described in INCLINOMETER SETUP FOR CASTER ANGLE VIEWING.

CAUTION: Prior to any cam bolt rotation, cam bolt lock nuts must be loosened, allowing lower control arm mounting brackets to spread, thus allowing free movement of control arm bushings. If not performed, serious bracket bending, weld breakage of cam retainer, free cam and cam bolt shank fracturing, or thread damage can occur. It may be necessary to tap bracket ears away from bushings to allow unrestricted cam bolt movement.

CAMBER ANGLE










Camber angle adjustment involves the repositioning of the lower control arm (4, 7) pivot bolts using the adjustment cams. There are two cams located on each lower control arm pivot bolt (1, 2), four per each corner of the vehicle front and rear. Repositioning of the pivot bolt cams in the same direction moves the lower ball joint in or out to obtain the required camber specifications.

CASTER ANGLE

Caster angle adjustment, like camber angle adjustment, involves the repositioning of the lower control arm (4, 7) pivot bolts using the adjustment cams. There are two cams located on each lower control arm pivot bolt (1, 2), four per each corner of the vehicle front and rear. Repositioning of the pivot bolt cams in opposite directions moves the lower ball joint fore or aft as required to obtain the required caster specifications.

INCLINOMETER SETUP FOR CASTER ANGLE VIEWING










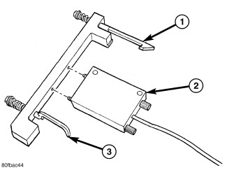
Both front and rear caster angle on this vehicle can be read. Rather than using the alignment equipment's traditional sweep method, caster angles are read directly off the front and rear knuckles through inclinometer sensors, bracket mounted to the knuckles. These inclinometers are wired to the scan tool. Use Inclinometers (2), Special Tools 6989, Switch Box (1), Special Tool 6996, Front Caster Adapters, Special Tool 8995, and Rear Caster Adapters, Special Tools 8996, attached to a scan tool equipped with a PEP module capable of reading inclinometers.

NOTE: It is necessary to have a scan tool with an attached PEP module capable of reading inclinometers.










1. Plug cable from Switch Box, Special Tool 6996, into PEP module connector on scan tool marked "INCL".
2. Plug power cable (supplied with the scan tool kit) into scan tool power connector marked "VEHICLE".










3. Attach two Inclinometers (2), Special Tool 6989, to Switch Box (1). Only two inclinometers are supplied and should be used as a pair to measure either rear caster or front caster, one at a time.
4. Attach power cable from scan tool to vehicle data connector.
5. At Main Menu screen, select "PEP Module Tools."
6. At PEP Module Tools screen, select "Inclinometer/Viper Alignment."

NOTE: The inclinometer (2), Special Tool 6989, must be zeroed (calibrated) prior to each time it is used to read caster angle on vehicle.

7. At Inclinometer Alignment screen, select "Read/Display Angle."
8. Once at Read/Display Angle screen, if only one inclinometer readout is shown, press F3 to show both inclinometers.










9. Zero inclinometers:
a. Place both inclinometers together on known flat, level surface (2), such as alignment rack, with knurled ends of fastening screws (1) facing upward.
b. Press F2.
c. Follow directions on screen to complete inclinometer zero.
10. Since scan tool can read only two inclinometer measurements at a time, install inclinometers on either front or rear knuckles and make necessary adjustments, before transferring them to remaining knuckles to measure caster.

INCLINOMETER INSTALLATION ON FRONT KNUCKLES










1. Mount inclinometers (2) to both front Caster Angle Adapters, Special Tool 8995. Make sure inclinometer from left side of Switch Box is mounted to left adapter and inclinometer from right side of Switch Box is mounted to right adapter. Adapters are marked Left and Right. To make sure each inclinometer is mounted right-side-up on Adapter, upper mounting screw is larger diameter than lower.

CAUTION: Be sure caster pads on knuckles are thoroughly cleaned before mounting Caster Adapters to knuckles. Caster Adapters must sit flat on caster pads to obtain accurate caster readings.

2. Clean any dirt or debris off knuckles paying special attention to caster pads on leading end of knuckles near ball joints.










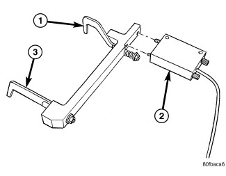
3. Insert each Adapter (5) (with inclinometer (4) attached) through opening between upper control arm and tie rod. Position Adapter lower spring-loaded hook (3) around lower ball joint nut and upper spring-loaded hook (1) over top of knuckle, then stretch bracket forward, placing Adapter flats against caster pads cast into leading side of knuckle. Make sure step built into Adapter upper flat is placed against outside of upper caster pad as shown and not on face of caster pad.
4. Adjust caster using measurements viewed on scan tool screen, and camber using measurements viewed on wheel alignment equipment Wheel Alignment.
5. When adjustments are complete, remove Caster Adapters/Inclinometers.

INCLINOMETER INSTALLATION ON REAR KNUCKLES










NOTE: Do not attach Inclinometers to rear Adapters before Adapter installation on vehicle. If attached, they cannot be installed or removed with rear wheels on vehicle.

1. Clean any dirt or debris off knuckles paying special attention to caster pads on trailing end of knuckles near ball joints.
2. Insert each Caster Angle Adapter (5) (without inclinometer attached), Special Tool 8996, through opening between upper control arm and toe link. Position Adapter lower spring-loaded hook (7) over lower ball joint machined casting and upper spring-loaded hook (1) around upper ball joint nut, then stretch bracket rearward, placing Adapter flats against caster pads (2, 6) cast into trailing side of knuckle.










3. Mount Inclinometers (2) to rear Caster Angle Adapters. Make sure inclinometer from left side of Switch Box is mounted to left adapter and inclinometer from right side of Switch Box is mounted to right adapter. To make sure each inclinometer is mounted right-side-up on Adapter, upper mounting screw is larger diameter than lower.
4. Adjust caster using measurements viewed on scan tool screen, and camber using measurements viewed on wheel alignment equipment Wheel Alignment.
5. When adjustments are complete, remove Caster Adapters/Inclinometers.

FRONT AND REAR TOE

Static toe position should be the final adjustment made to the vehicle during the alignment procedure. Adjusting rear toe first is recommended.

NOTE: It is recommended to leave the engine running during the front wheel toe setting procedure to ease centering of the wheel.

1. Start engine and turn wheels in both directions before straightening and centering steering wheel. Center steering wheel and retain with steering wheel clamp. Leave engine running.

REAR TOE

NOTE: Repeat the following procedure at each rear corner of the vehicle as necessary.










1. Loosen tie rod jam nut (3).
2. Grasp toe link at adjustment serration (1). Rotate toe link in direction required to obtain specified individual wheel toe position Wheel Alignment.
3. Tighten and torque tie rod jam nut (3) to 75 Nm (55 ft. lbs.).

FRONT TOE

NOTE: Repeat the following procedure at each front corner of the vehicle as necessary.










1. Remove clamp from end of steering gear boot where it contacts inner tie rod.
2. Loosen tie rod jam nut (3).
3. Grasp inner tie rod (4) at adjustment serration (1). Rotate inner tie rod in direction required to obtain specified individual wheel toe position. Wheel Alignment
4. Tighten and torque tie rod jam nut (3) to 75 Nm (55 ft. lbs.).
5. Remove any twist in steering gear inner tie rod boot caused by rotating inner tie rod. Install clamp where previously removed.
6. Remove steering wheel clamp.
7. Remove all alignment equipment from vehicle.
8. Install the belly pan Belly Pan - Installation.
9. Remove ballast weight from vehicle allowing vehicle to return to curb height.