Curiosii for ever!: Car repair manuals for everyone.

Anti-Lock Brake System Module - Description






DESCRIPTION










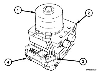
The Controller Antilock Brake (CAB) (4) is a microprocessor-based device which monitors the ABS system during normal braking and controls it when the vehicle is in an ABS stop. The CAB is mounted to the HCU (hydraulic control unit) (2) as part of the ICU (integrated control unit). The CAB uses a 24-way wiring connector on the vehicle wiring harness. The power source for the CAB is through the ignition switch in the RUN or ON position.