Curiosii for ever!: Car repair manuals for everyone.

A/C Condenser - Installation






INSTALLATION

CAUTION: Be certain to adjust the refrigerant oil level when servicing the A/C refrigerant system Refrigerant Oil Capacity . Failure to properly adjust the refrigerant oil level will prevent the A/C system from operating as designed and can cause serious A/C compressor damage.

NOTE: When replacing multiple A/C system components, refer to the Refrigerant Oil Capacities chart to determine how much oil should be added to the refrigerant systemRefrigerant Oil Capacity .

NOTE: If only the A/C condenser is being replaced, add 30 milliliters (1 fluid ounce) of refrigerant oil to the refrigerant system. Use only refrigerant oil of the type recommended for the A/C compressor in the vehicle.

NOTE: Replacement of the refrigerant line O-ring seals and gaskets is required anytime a refrigerant line is disconnected. Failure to replace the rubber O-ring seals and metal gaskets could result in a refrigerant system leak.

NOTE: Be certain that each of the radiator and condenser air seals are installed in their proper locations. These air seals are required for the A/C and engine cooling systems to perform as designed.






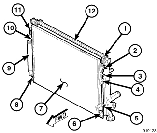
NOTE: Illustration shown with A/C condenser and radiator removed from vehicle for clarity.

1. If removed, install the A/C receiver/drier (9) onto the A/C condenser (7) A/C Receiver Drier - Installation.
2. Carefully position the A/C condenser onto the radiator (12).
3. Install the four bolts (2, 5, 8 and 11) that secure the A/C condenser to the radiator. Tighten the bolts to 5 Nm (44 in. lbs.).
4. Remove the tape or plugs from the opened refrigerant line fittings and condenser ports.
5. Connect the A/C discharge line and the A/C liquid line onto the refrigerant line tapping blocks (4 and 6) A/C Discharge Line - Installation and A/C Liquid Line - Installation.
6. Remove the plugs and connect the power steering cooler lines to the power steering cooler fittings (3 and 10). Make sure the retaining clamps are securely engaged.
7. If equipped, remove the plugs and connect the automatic transmission cooler lines to the cooler ports (1) Service and Repair.
8. Install the front fascia Front Bumper Fascia - Installation.
9. Reconnect the negative battery cable.
10. Evacuate the refrigerant system, Refrigerant System Evacuate.
11. If the A/C condenser is being replaced, add 30 milliliters (1 fluid ounce) of refrigerant oil to the refrigerant system. When replacing multiple A/C system components, refer to the Refrigerant Oil Capacities chart to determine how much oil should be added to the refrigerant system Refrigerant Oil Capacity. Use only refrigerant oil of the type recommended for the A/C compressor in the vehicle.
12. Charge the refrigerant system, Refrigerant System Charge.
13. If equipped, check the automatic transmission fluid level Check Oil Level Fill as required Transmission Fill