Curiosii for ever!: Car repair manuals for everyone.

Windshield - Installation






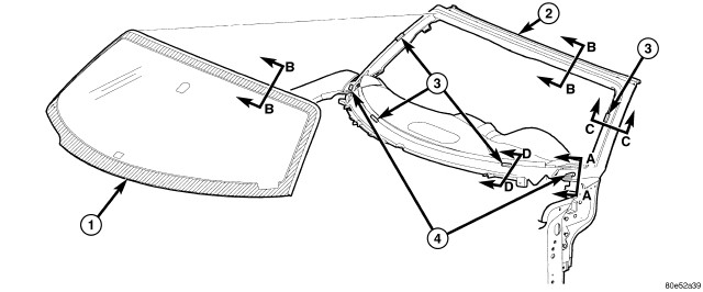
INSTALLATION

CAUTION: Allow the urethane at least 24 hours to cure before returning the vehicle to use.
To avoid stressing the replacement windshield, the urethane bonding material on the windshield fence should be smooth and consistent to the shape of the replacement windshield. The support spacers should be cleaned and properly installed on the lower supports at bottom of windshield opening.










1. Place replacement windshield into windshield opening and position glass in the center of the opening against the support spacers. Mark the glass at the support spacers with a grease pencil or pieces of masking tape and ink pen to use as a reference for installation. Remove replacement windshield from windshield opening.
2. Position the windshield inside up on a suitable work surface with two padded, wood 10 cm by 10 cm by 50 cm (4 in. by 4 in. by 20 in.) blocks, placed parallel 75 cm (2.5 ft.) apart.
3. Clean inside of windshield with Mopar(R) Glass Cleaner and lint free cloth.
4. Apply clear glass primer 25 mm (1 in.) wide around perimeter of windshield and wipe with clean/dry lint free cloth.
5. Apply black out primer 15 mm (.75 in.) wide on top and sides of windshield and 25 mm (1 in.) on bottom of windshield. Allow at least three minutes drying time.
6. Using a razor knife, remove as much original urethane as possible. Do not damage paint on windshield fence.
7. Apply a bead of urethane on center line of windshield fence.





8. Position spacers on windshield opening fence as indicated.
9. With the aid of a helper, position the windshield over the windshield opening. Align the reference marks at the bottom of the windshield to the support spacers.
10. Slowly lower windshield glass to windshield opening fence. Guide the top molding into proper position if necessary. Push windshield inward to fence spacers at bottom and until top molding is flush to roof line.
11. Clean excess urethane from exterior with Mopar(R) Super Kleen or equivalent.





12. Apply 150 mm (6 in.) lengths of 50 mm (2 in.) masking tape spaced 250 mm (10 in.) apart to hold molding in place until urethane cures.
13. Install cowl cover and wipers.
14. Install inside rear view mirror.
15. After urethane has cured, remove tape strips and water test windshield to verify repair.