Curiosii for ever!: Car repair manuals for everyone.

Checking the Clutch Interlock Switch Operation





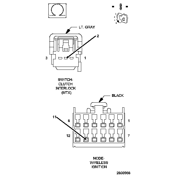
CHECKING THE CLUTCH INTERLOCK SWITCH OPERATION





For a complete wiring diagram, refer to the wiring information Electrical Diagrams.






Always perform the Pre-Diagnostic Troubleshooting procedure before proceeding. Pre-Diagnostic Troubleshooting Procedure.

1. CLUTCH UPSTOP SWITCH
1. Turn the ignition on.
2. With a scan tool, monitor the Clutch Upstop Switch state.
3. With the clutch pedal in the fully released position, monitor the Clutch Upstop Switch state while slowly depressing the clutch pedal to the fully applied position.

NOTE: With the clutch pedal fully released, the Clutch Upstop Switch state should indicate the switch is closed. As the clutch is immediately depressed, the Clutch Upstop Switch state should indicate the switch is open during the entire remaining travel of the clutch pedal.

Does the Clutch Upstop Switch state change as described above?

Yes

- Go To 2

No

- Go To 3

2. CLUTCH INTERLOCK SWITCH
1. With a scan tool, monitor the Clutch Interlock Switch state.
2. With the clutch pedal in the fully applied position, monitor the Clutch Upstop Switch state while slowly releasing the clutch pedal to the fully released position.

NOTE: With the clutch pedal fully depressed, the Clutch Interlock Switch state should indicate the switch is closed. As the clutch is immediately released, the Clutch Interlock Switch state should indicate the switch is open during the entire remaining travel of the clutch pedal.

Does the Clutch Interlock Switch state change as described above?

Yes

- Test complete.

No

- Go To 4

3. CLUTCH UPSTOP SWITCH
1. Turn the ignition off.
2. Disconnect the Clutch Interlock Switch harness connector.
3. Connect an ohmmeter between the (T26) Clutch Upstop Switch Signal circuit and the (Z912) Ground circuit at the switch-side harness connector.
4. With the clutch pedal in the fully released position, observe the ohmmeter while slowly depressing the clutch pedal to the fully applied position.

NOTE: With the clutch pedal fully released, the ohmmeter should indicate continuity though the switch. As the clutch is immediately depressed, the ohmmeter should indicated no continuity through the switch during the entire remaining travel of the clutch pedal.

Does the ohmmeter indicate continuity as described above?

Yes

- Go To 5

No

- Replace the Clutch Interlock Switch.
- Perform the PCM VERIFICATION TEST. PCM Verification Test.

4. CLUTCH INTERLOCK SWITCH
1. Turn the ignition off.
2. Disconnect the Clutch Interlock Switch harness connector.
3. Connect an ohmmeter between the (T141) Clutch Interlock Signal circuit and the (Z912) Ground circuit at the switch-side harness connector.
4. With the clutch pedal in the fully depressed position, observe the ohmmeter while slowly releasing the clutch pedal to the fully released position.

NOTE: With the clutch pedal fully depressed, the ohmmeter should indicate continuity though the switch. As the clutch is immediately released, the ohmmeter should indicated no continuity through the switch during the entire remaining travel of the clutch pedal.

Does the ohmmeter indicate continuity as described above?

Yes

- Go To 9

No

- Replace the Clutch Interlock Switch.
- Perform the PCM VERIFICATION TEST. PCM Verification Test.

5. (Z912) GROUND CIRCUIT OPEN OR HIGH RESISTANCE




1. Using a 12-volt test light connected to 12-volts, probe the (Z912) Ground circuit.

NOTE: The test light must illuminate brightly. Compare the brightness to that of a direct connection to ground.

Does the test light illuminate brightly?

Yes

- Go To 6

No

- Repair the open or high resistance in the (Z912) Ground circuit.
- Perform the PCM VERIFICATION TEST. PCM Verification Test.

6. (T26) CLUTCH UPSTOP SWITCH SIGNAL CIRCUIT SHORTED TO VOLTAGE




1. Disconnect the C3 PCM harness connector.
2. Turn the ignition on.
3. Measure the voltage between the (T26) Clutch Upstop Switch Signal circuit and ground.

Is there any voltage present?

Yes

- Repair the short to voltage in the (T26) Clutch Upstop Switch Signal circuit.
- Perform the PCM VERIFICATION TEST. PCM Verification Test.

No

- Go To 7

7. (T26) CLUTCH UPSTOP SWITCH SIGNAL CIRCUIT SHORTED TO GROUND




1. Turn the ignition off.
2. Measure the resistance between ground and the (T26) Clutch Upstop Switch Signal circuit.

Is the resistance above 100 Ohms?

Yes

- Go To 8

No

- Repair the short to ground in the (T26) Clutch Upstop Switch Signal circuit.
- Perform the PCM VERIFICATION TEST. PCM Verification Test.

8. (T26) CLUTCH UPSTOP SWITCH SIGNAL CIRCUIT OPEN OR HIGH RESISTANCE




1. Connect the PCM Pinout Box 8815.
2. Measure the resistance of the (T26) Clutch Upstop Switch Signal circuit from the Clutch Interlock Switch harness connector to the appropriate terminal of the PCM Pinout Box 8815.

Is the resistance below 5.0 Ohms?

Yes

- Go To 12

No

- Repair the open or high resistance in the (T26) Clutch Upstop Switch Signal circuit.
- Perform the PCM VERIFICATION TEST. PCM Verification Test.

9. (T141) CLUTCH INTERLOCK SIGNAL CIRCUIT SHORTED TO VOLTAGE




1. Disconnect the Wireless Ignition Node (WIN) harness connector.
2. Turn the ignition on.
3. Measure the voltage between the (T141) Clutch Interlock Signal circuit and ground.

Is there any voltage present?

Yes

- Repair the short to voltage in the (T141) Clutch Interlock Signal circuit.
- Perform the PCM VERIFICATION TEST. PCM Verification Test.

No

- Go To 10

10. (T141) CLUTCH INTERLOCK SIGNAL CIRCUIT SHORTED TO GROUND




1. Turn the ignition off.
2. Measure the resistance between ground and the (T141) Clutch Interlock Signal circuit.

Is the resistance above 100 Ohms?

Yes

- Go To 11

No

- Repair the short to ground in the (T141) Clutch Interlock Signal circuit.
- Perform the PCM VERIFICATION TEST. PCM Verification Test.

11. (T141) CLUTCH INTERLOCK SIGNAL CIRCUIT OPEN OR HIGH RESISTANCE




1. Measure the resistance of the (T141) Clutch Interlock Signal circuit from the Clutch Interlock Switch harness connector to the WIN harness connector.

Is the resistance below 5.0 Ohms?

Yes

- Go To 13

No

- Repair the open or high resistance in the (T141) Clutch Interlock Signal circuit.
- Perform the PCM VERIFICATION TEST. PCM Verification Test.

12. POWERTRAIN CONTROL MODULE (PCM)
1. Using the wiring diagram/schematic as a guide, inspect the wiring and connectors between the Clutch Interlock Switch and the Powertrain Control Module (PCM).
2. Look for any chafed, pierced, pinched, or partially broken wires.
3. Look for broken, bent, pushed out or corroded terminals.
4. Verify that there is good pin to terminal contact in the Clutch Interlock Switch and PCM harness connectors.
5. Perform any Technical Service Bulletins (TSBs) that may apply.

Were there any problems found?

Yes

- Repair as necessary.
- Perform the PCM VERIFICATION TEST. PCM Verification Test.

No

- Replace and program the PCM.
- Perform the PCM VERIFICATION TEST. PCM Verification Test.

13. WIRELESS IGNITION NODE (WIN)
1. Using the wiring diagram/schematic as a guide, inspect the wiring and connectors between the Clutch Interlock Switch and the WIN.
2. Look for any chafed, pierced, pinched, or partially broken wires.
3. Look for broken, bent, pushed out or corroded terminals.
4. Verify that there is good pin to terminal contact in the Clutch Interlock Switch and WIN harness connectors.
5. Perform any Technical Service Bulletins (TSBs) that may apply.

Were there any problems found?

Yes

- Repair as necessary.
- Perform the PCM VERIFICATION TEST. PCM Verification Test.

No

- Replace the WIN.
- Perform the PCM VERIFICATION TEST. PCM Verification Test.