Curiosii for ever!: Car repair manuals for everyone.

Wiper Blade - Installation






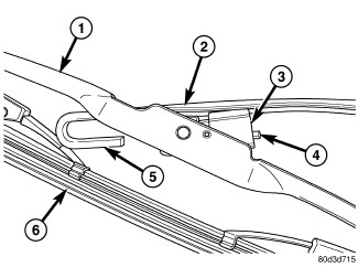
INSTALLATION






CAUTION: Do not allow the wiper arm to spring back against the glass without the wiper blade in place or the glass may be damaged.

NOTE: The notched end of the wiper element flexor should always be oriented towards the end of the wiper blade that is nearest to the wiper pivot.

1. Lift the wiper arm (2) off of the windshield glass, until the wiper arm hinge is in its over-center position.
2. Position the wiper blade near the hook formation (5) on the tip of the arm with the notched end of the wiper element flexor oriented towards the end of the wiper arm that is nearest to the wiper pivot.
3. Insert the hook formation on the tip of the arm through the opening in the blade superstructure (1) ahead of the pivot block (3) far enough to engage the pivot block into the hook.
4. Slide the pivot block up into the hook formation on the tip of the wiper arm until the latch release tab (4) snaps into its locked position. Latch engagement will be accompanied by an audible click.
5. Gently lower the wiper blade and element (6) onto the glass.