Curiosii for ever!: Car repair manuals for everyone.

Hands Free Module (HFM)






B143F-MICROPHONE 2 CIRCUIT HIGH





For a complete wiring diagram, refer to the Wiring Information. Electrical Diagrams

- When Monitored:
With the ignition on.

- Set Condition:
The Hands Free Module (HFM) detects a fault in any of the microphone circuits.





1. CHECK FOR ACTIVE DTC
1. Turn the ignition on.
2. With the scan tool, read the active DTCs.

Does the scan tool display this DTC as active?

Yes

- Go To 2

No

- If the DTC is stored, check for an intermittent condition. Visually inspect the related wiring harness connectors. Look for broken, bent, pushed out, or corroded terminals.
- Perform the BODY VERIFICATION TEST. Body Verification Test

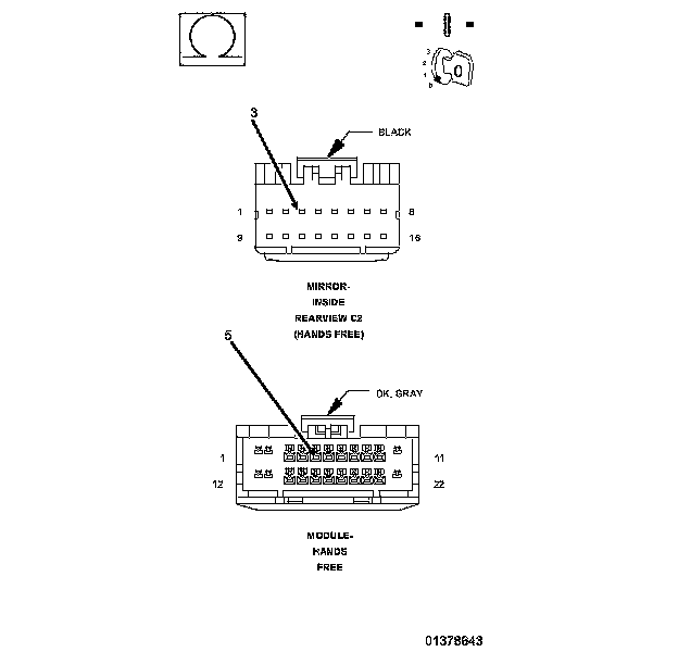
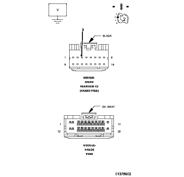
2. INSIDE REARVIEW MIRROR
1. Turn the ignition off.
2. Disconnect the Inside Rearview Mirror C2 harness connector.
3. Turn the ignition on.
4. With the scan tool, read the active DTCs.

Does the scan tool display this DTC as active?

Yes

- Go To 3

No

- Replace the Rearview Mirror.
- Perform the BODY VERIFICATION TEST. Body Verification Test

3. (X722) MICROPHONE CIRCUITS SHORTED TO VOLTAGE




1. Turn the ignition off.
2. Disconnect the Hands Free Module harness connector.
3. Turn the ignition on.
4. Measure the voltage of the (X722) Microphone circuit.

Is the voltage above 1.0 volt?

Yes

- Repair the (X722) Microphone circuit for a short to voltage.
- Perform the BODY VERIFICATION TEST. Body Verification Test

No

- Go To 4

4. (X722) MICROPHONE 2 IN (+) CIRCUIT OPEN




1. Turn the ignition off.
2. Measure the resistance of the (X722) Microphone 2 IN (+) circuit between the HFM connector and the inside rearview mirror connector.

Is the resistance below 5.0 ohms?

Yes

- Replace the Hands Free Module.
- Perform the BODY VERIFICATION TEST. Body Verification Test

No

- Repair the (X722) Microphone 2 IN (+) circuit for an open.
- Perform the BODY VERIFICATION TEST. Body Verification Test