Curiosii for ever!: Car repair manuals for everyone.

Evaporative Emissions System: Testing and Inspection






CHECKING THE EVAPORATIVE SYSTEM FOR LEAKS

For a complete wiring diagram, refer to the Wiring Information. Electrical Diagrams

1. EVAPORATIVE SYSTEM INSPECTION
1. Turn the ignition off.
2. Raise the vehicle as necessary.
3. Visually and physically inspect the entire Evaporative Emission System for any of the following conditions:
- Holes or cracks
- Loose seal points
- Evidence of damaged components
- Incorrect routing of hoses or tubes
- Loose or missing fuel filler cap
- Improper installation of the fuel filler cap
- Damaged locking tabs on cap and/or fill tube
- Damaged seal points on cap and/or fill tube
- Fuel cap gasket seal missing or damaged

Were any problems found?

Yes

- Repair as necessary.
- Perform the PCM Verification Test. PCM Verification Test.

No

- Go To 2

2. VERIFY EVAPORATIVE EMISSION LEAK

WARNING: Keep lit cigarettes, sparks, flames, and other ignition sources away from the test area to prevent the ignition of explosive gases. Keep the test area well ventilated. Failure to do so may result in possible serious or fatal injury.

1. Turn the ignition off.
2. To continue testing, you will need Evaporative Emission Leak Detector (EELD) 8404A.

NOTE: The fuel tank should have between 20% and 80% of fuel tank capacity to properly test the Evap system.

3. Connect the red power lead of EELD to the battery positive terminal and the black ground lead to battery negative terminal.
4. Block the vent hose of the Evap Canister.
5. Connect shop air to the EELD.
6. Set the smoke/air control switch to AIR.
7. Insert the tester's AIR supply tip (clear hose) into the.040 orifice on the tester's control panel.
8. Press the remote smoke/air start button.
9. Position the red flag on the air flow meter so it is aligned with the indicator ball.
10. When the calibration is complete, release the remote button. The EELD flow meter is now calibrated in liters per minute.
11. Install the service port adapter 8404-14 on the vehicle's service port (if equipped) or install the 8404-ADP into the filter line.
12. Connect the AIR supply hose from the EELD to the service port (if equipped) or to the 8404-ADP adapter.
13. Press the remote button to activate AIR flow.

NOTE: Larger volume fuel tanks, lower fuel levels, or vehicles equipped with a Flow Management Valve may indicate high flow and will require four to five minutes to fill.

14. Compare the flow meter indicator ball reading to the red flag.
15. ABOVE the red flag indicates a leak present.
16. BELOW the red flag indicates a sealed system.

Is the indicator ball above the red flag?

Yes

- Go To 3

No

- Refer to the Freeze Frame data, if applicable. If the Freeze Frame data indicates that the vehicle was in motion when the DTC was set, verify that all hoses are connected properly.
- Perform the PCM Verification Test. PCM Verification Test.

3. EVAPORATIVE EMISSION LEAK DETECTION

NOTE: A thorough inspection of the Evap system hoses, tubes, and connections may save time in diagnosis. Look for physical damage or signs of wetness at connections. The strong smell of fuel vapors may aid diagnosis also.

1. To continue testing, you will need Evaporative Emissions Leak Detector (EELD) 8404A.
2. Remove the AIR supply hose from the service port (if equipped) or from the adapter 8404-ADP.
3. Connect the SMOKE supply tip (black hose) to the service port (if equipped) or to the adapter 8404-ADP.
4. Set the smoke/air control switch to SMOKE.

NOTE: The flow meter indicator ball will not move in the smoke mode.

5. Press the remote smoke/air start button.

NOTE: Make sure that smoke has filled the Evap system by continuing to press the remote smoke/air start button, remove the vehicle fuel cap, and wait for the smoke to exit. Once smoke is detected, reinstall the fuel cap.

NOTE: For the best results, introduce smoke into the system for an additional 60 seconds and continue introducing smoke at 15 second intervals, as necessary.

6. While still holding the remote smoke/air start button, use the white light 8404-CLL to follow the Evap system path, and look for the source of the leak as indicated by exiting smoke.
7. If a leak is concealed from view (at the top of the fuel tank, for example), release the remote smoke/air start button, and use the ultraviolet (UV) black light 8404-UVL and the UV goggles 8404-20 to look for residual traces of dye that is left behind by the smoke.
8. The exiting smoke deposits a residual fluid that is either bright green or bright yellow when viewed with a UV light.

Were any problems found?

Yes

- Repair or replace the leaking component as necessary.
- Perform the PCM Verification Test. PCM Verification Test.

No

- Go To 4

4. CHECKING THE GAS CAP AND FUEL FILLER TUBE
1. Thoroughly check the gas cap and filler tube area for leaks.

Was a leak found at the gas cap or filler tube?

Yes

- Go To 5

No

- Go To 6

5. GAS CAP OR FUEL FILLER TUBE
1. Remove the SMOKE supply tip (black hose) from the service port (if equipped) or from the 8404-ADP adapter.
2. Install leak check adapter 8382 (1/4 turn cap) or fuel tank adapter 6922 (screw cap) and leak check adapter 8399 (secondary seal depressor) and repeat test 4.

Was a leak found at the gas cap adapter?

Yes

- Replace the fuel filler tube assembly.
- Perform the PCM Verification Test. PCM Verification Test.

No

- Replace the gas cap.
- Perform the PCM Verification Test. PCM Verification Test.

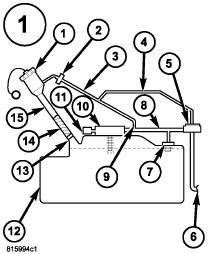
6. CHECKING FOR EVAPORATIVE SYSTEM LEAKS IN ZONE 1





NOTE: For testing purposes, the Evap System is divided into three zones. A leak from any of these zones can cause a DTC to set. The lists in the following steps below specify possible leak points in one of the specific zones.

1. Using the list below, check each of the components in Zone 1 of the evaporative system for leaks:
- 1 Fuel Cap
- 2 Recirculation Check Valve
- 3 Vapor Recirculation Line
- 4 Signal Vapor Line for FVM
- 5 Flow Management Valve
- 6 Fuel Tank to Canister Vapor Line
- 7 Fuel Tank Vent (Check Valve)
- 8 Vapor Line to Canister
- 9 Flow Control Orifice
- 10 Control Valve
- 11 Liquid Trap
- 12 Fuel Tank
- 13 Check Valve
- 14 Fuel Fill Tube to Tank connector
- 15 Fuel Fill Tube
- Damaged or disconnected components

Were any problems found?

Yes

- Repair or replace the leaking component as necessary.
- Perform the PCM Verification Test. PCM Verification Test.

No

- Go To 7

7. CHECKING FOR EVAPORATIVE SYSTEM LEAKS IN ZONE 2





NOTE: For testing purposes, the Evap System is divided into three zones. A leak from any of these zones can cause a DTC to set. The lists in the following steps below specify possible leak points in one of the specific zones.

1. Using the list below, check each of the components in Zone 2 of the evaporative system for leaks:
- 1 Filter
- 2 ESIM Switch
- 3 Canister Vent Line
- 4 Evap Canister
- 5 Chassis Purge Valve
- 6 Fuel Tank to Canister Vapor Line connection
- 7 Evap Purge connection

Were any problems found?

Yes

- Repair or replace the leaking component as necessary.
- Perform the PCM Verification Test. PCM Verification Test.

No

- Go To 8

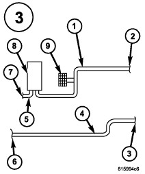
8. CHECKING FOR EVAPORATIVE SYSTEM LEAKS IN ZONE 3





NOTE: For testing purposes, the Evap System is divided into three zones. A leak from any of these zones can cause a DTC to set. The lists in the following steps below specify possible leak points in one of the specific zones.

1. Using the list below, check each of the components in Zone 3 of the evaporative system for leaks:
- 1 Evap Purge Vacuum Line
- 2 Connection to Chassis Line
- 3 Connection to Canister
- 4 Chassis Purge Line
- 5 Evap Purge Vacuum Line
- 6 Connection to Evap Purge Harness
- 7 Chassis Evap Purge Line connection to Engine Vacuum
- 8 Evap Purge Valve
- 9 Service Port

Were any problems found?

Yes

- Repair or replace the leaking component as necessary.
- Perform the PCM Verification Test. PCM Verification Test.

No

- Test complete.