Curiosii for ever!: Car repair manuals for everyone.

Final Drive - Assembly






ASSEMBLY










NOTE: Use Mopar(R) Silicone Rubber Adhesive Sealant, or equivalent, on retainer and extension housing/adapter plate to seal to transaxle case.

1. Position differential case to ring gear. Install ring gear-to-differential case bolts (1) and draw ring gear into position. Torque bolts to 95 Nm (70 ft. lbs.).










2. Install side gear thrust washers (1).










3. Install differential side gears (1).










4. Install pinion gears (2) and thrust washers (1) 180° apart.










5. Rotate pinion gears into position, ensuring the anti-rotate tabs (1) are located into the differential case (2).










6. Install pinion shaft (1).










7. Install pinion shaft retainer (1).










8. Install pinion shaft retainer/ring (1) gear-to-differential case bolts and torque to 95 Nm (70 ft. lbs.).










9. Position differential side bearing cone (2) onto differential.










10. Using Installer 5052 (2) and Handle C-4171 (1), install differential bearing to differential (ring gear side).










11. Using Bearing Installer L-4410 (2) and Handle C-4171 (1), install differential bearing to differential (ring gear side).










12. Using Installer 6061 and Handle C-4171, install differential bearing race to bearing retainer (2).










13. Using Installer L-4520 and Handle C-4171, install differential bearing cup to extension housing.
14. Measure and adjust differential bearing preloadAdjustments.
15. Install differential assembly to case. Install extension housing/adapter plate and bearing retainer.
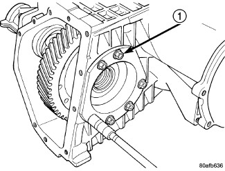
16. Install bearing retainer with a bead of Mopar(R) Silicone Rubber Adhesive Sealant and torque bolts (1) to 28 Nm (250 in. lbs.).










17. Install extension housing/adapter plate with a bead of Mopar(R) Silicone Rubber Adhesive Sealant and torque bolts to 28 Nm (250 in. lbs.).
18. Install differential cover (2) with a bead of Mopar(R) Silicone Rubber Adhesive Sealant and torque bolts to 28 Nm (250 in. lbs.).