Curiosii for ever!: Car repair manuals for everyone.

Air Bag Control Module




Component ID: 162
Component : MODULE-OCCUPANT RESTRAINT CONTROLLER

Connector:
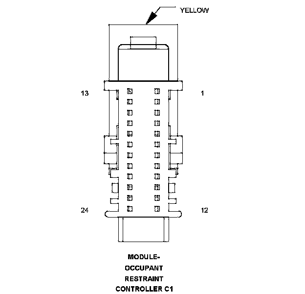
Name : MODULE-OCCUPANT RESTRAINT CONTROLLER C1
Color : YELLOW
# of pins : 24




Pin Circuit Description
1 - -
2 - -
3 D25 20WT/VT PCI BUS
4 - -
5 Z914 20BK GROUND
6 R166 20LG/TN PASSENGER AIRBAG INDICATOR DRIVER
7 - -
8 - -
9 R81 20LB/WT LEFT FRONT IMPACT SENSOR GROUND
10 R79 20LB/VT LEFT FRONT IMPACT SENSOR SIGNAL
11 R82 20WT/LB RIGHT FRONT IMPACT SENSOR GROUND
12 R80 20VT/LB RIGHT FRONT IMPACT SENSOR SIGNAL
13 - -
14 - -
15 - -
16 - -
17 R43 20LG/BR DRIVER SQUIB 1 LINE 1
18 R45 20LG/OR DRIVER SQUIB 1 LINE 2
19 R44 20LB/OR PASSENGER SQUIB 1 LINE 1
20 R42 20LB/BR PASSENGER SQUIB 1 LINE 2
21 R61 20LG/VT DRIVER SQUIB 2 LINE 1
22 R63 20LG/WT DRIVER SQUIB 2 LINE 2
23 R64 20LB/WT PASSENGER SQUIB 2 LINE 2
24 R62 20LB/VT PASSENGER SQUIB 2 LINE 1

Component Location - 17




Component Location - 21






Connector:
Name : MODULE-OCCUPANT RESTRAINT CONTROLLER C2
Color : YELLOW
# of pins : 32




Pin Circuit Description
1 - -
2 - -
3 - -
4 - -
5 - -
6 - -
7 - -
8 - -
9 R53 20LG/YL DRIVER SEAT BELT TENSIONER LINE 2
10 R55 20LG/DG DRIVER SEAT BELT TENSIONER LINE 1
11 R56 20LB/DG PASSENGER SEAT BELT TENSIONER LINE 1
12 R54 20LB/YL PASSENGER SEAT BELT TENSIONER LINE 2
13 - -
14 - -
15 - -
16 - -
17 F12 20PK FUSED IGNITION SWITCH OUTPUT (RUN-START)
18 F100 20PK/VT FUSED IGNITION SWITCH OUTPUT (RUN)
19 - -
20 R60 20LB/TN PASSENGER SEAT BELT SWITCH GROUND
21 R59 20LG/TN DRIVER SEAT BELT SWITCH GROUND
22 R57 20LG/GY DRIVER SEAT BELT SWITCH SENSE
23 R58 20LB/GY PASSENGER SEAT BELT SWITCH SENSE
24 - -
25 - -
26 - -
27 - -
28 - -
29 - -
30 - -
31 - -
32 - -

Component Location - 17




Component Location - 21