Curiosii for ever!
: Car repair manuals for everyone.
Home
>>
Dodge
>>
2004
>>
Stratus Sedan L4-2.4L
>>
Repair and Diagnosis
>>
Power and Ground Distribution
>>
Circuit Breaker
>>
Locations
Circuit Breaker: Locations
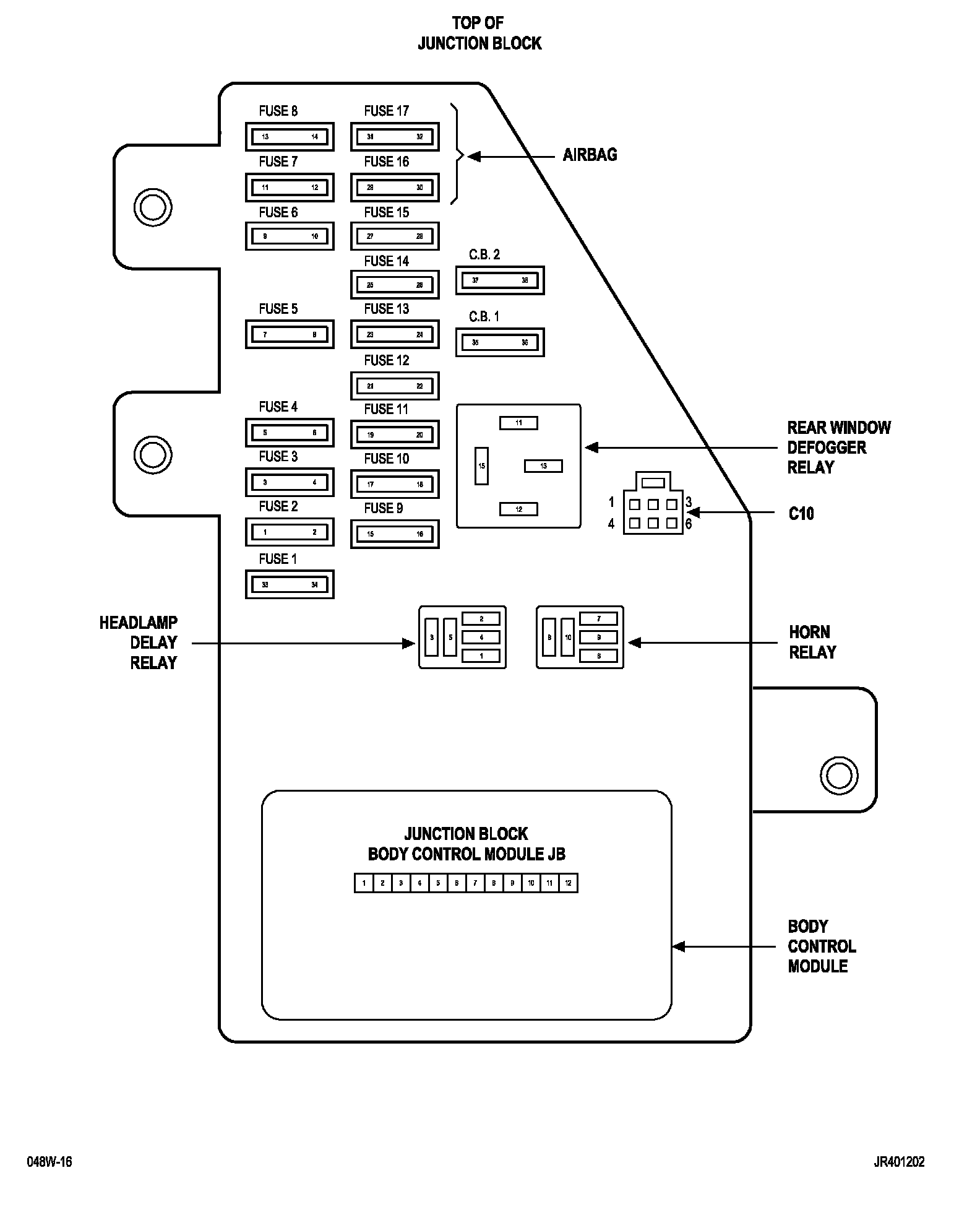
8w-12-2 (Top Of Junction Block):
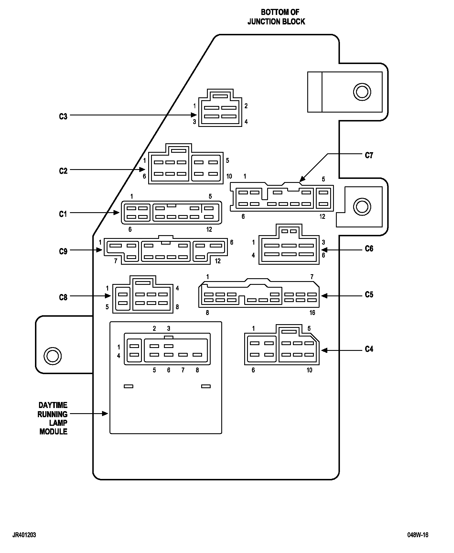
8w-12-3 (Bottom Of Junction Block):
Circuit Breakers: