Curiosii for ever!: Car repair manuals for everyone.

Inspection Procedure 3




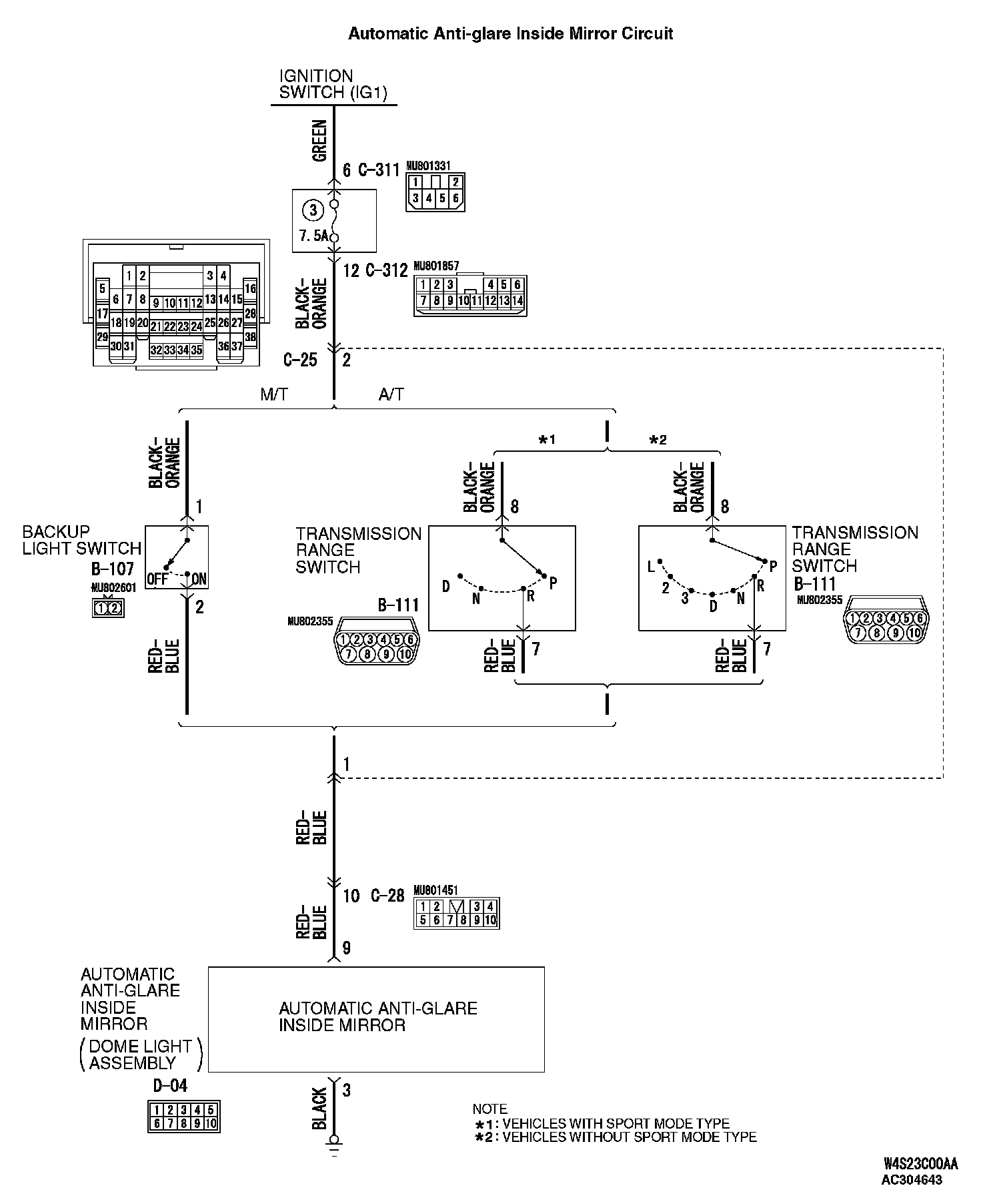
Inspection Procedure 3 : When the Reverse Gear is Engaged, the Inside Rear View Mirror Can not be Set to Day Mode.













CIRCUIT OPERATION
If the automatic anti-glare inside mirror receives signal from the backup light switch or transmission range switch , the mirror will be set to day mode.

TECHNICAL DESCRIPTION (COMMENT)
The power supply circuit to the backup light switch or transmission range switch
, the input circuit from the backup light switch or transmission range switch or the backup light switch or the transmission range switch or the automatic anti-glare inside mirror may be defective.

TROUBLESHOOTING HINTS
- Malfunction of the backup light switch or transmission range switch

- Malfunction of the automatic anti-glare inside mirror
- Damaged harness wires or connector

DIAGNOSIS

Required Special Tools:
- MB991223: Harness Set

STEP 1. Check the automatic anti-glare inside mirror.

Darken the interior of the vehicle and shine a flash light in front and at the back of the automatic anti-glare inside mirror to check it for proper operation.

Q: Is the automatic anti-glare inside mirror normal?

YES: Go to Step 2.
NO: Go to Step 4.

STEP 2. Confirm the transaxle.

Q: Is the transaxle M/T or A/T?

M/T: Go to Step 3.
A/T: Go to Step 10.




STEP 3. Check the backup light switch.

Remove the backup light switch. Then check continuity between the switch terminals.




Q: Is the backup light switch in good condition?

YES: Go to Step 4.
NO: Replace the backup light switch. Then go to Step 17.




STEP 4. Check the backup light switch power supply circuit at the backup light switch connector B-107.

1. Disconnect the backup light switch connector B-107, and measure at the harness side.
2. Turn the ignition switch to "ON" position.
3. Measure the voltage between terminal 1 and ground.
- The value should be approximately 12 volts.

Q: Does the measured voltage correspond with this range?

YES: Go to Step 7.
NO: Go to Step 5.




STEP 5. Check the backup light switch connector B-107 for damage.

Q: Is the backup light switch connector B-107 in good condition?

YES:Go to Step 6.
NO :Repair or replace the connector. Then go to Step 17.




STEP 6. Check the wiring harness between the backup light switch connector B-107 (terminal 1) and the ignition switch (IG1).







NOTE: Also check junction block connector C-311 and C-312, joint connector C-25. If junction block connector C-311 or C-312, joint connector C-25 are damaged, repair or re pi ace the connectors. Harness Connector Inspection.

Q: Is the wiring harness between the backup light switch connector B-107 (terminal 1) and the ignition switch (IG1) in good condition?

YES :Go to Step 17.
NO : Repair the wiring harness. Then go to Step 7.




STEP 7. Check the backup light switch input circuit at the automatic anti-glare inside mirror connector D-04.
1. Disconnect the automatic anti-glare inside mirror connector D-04 and measure at the harness side.
2. Turn the ignition switch to "ON" position.
3. Turn the backup light switch to "ON" position.
4. Measure the voltage between terminal 9 and ground.
- The valve should be approximately 12 volts.

Q: Does the measured voltage correspond with this range?

YES: Replace the automatic anti-glare inside mirror. Then go to Step 17.
NO: Go to Step 8.







STEP 8. Check the backup light switch connector B-107 and automatic anti-glare inside mirror connector D-04 for damage.

Q: Are the backup light switch connector B-107 and automatic anti-glare inside mirror connector D-04 in good condition?

YES: Go to Step 9.
NO: Repair or replace the connector. Then go to Step 17.







STEP 9. Check the wiring harness between the backup light switch connector B-107 (terminal 2) and automatic anti-glare inside mirror connector D-04 (terminal 9).




NOTE: Also check joint connector C-25 and C-28. If joint connector C-25 or C-28 is damaged, repair or replace the connector. Harness Connector Inspection.

Q: Is the wiring harness between the backup light switch connector B-107 (terminal 2) and automatic anti-glare inside mirror connector D-04 (terminal 9) in good condition?

YES: Replace the automatic anti-glare inside mirror. Then go to Step 17.
NO: Repair the wiring harness. Then go to Step 17.







STEP 10. Check the transmission range switch switch.




NOTE: For vehicles with sport mode, four positions (P, R, N, D) are used.

Q: Is the switch operating properly?

YES: Go to Step 11.
NO: Repair the transmission range switch. Then go to Step 17.




STEP 11. Check the transmission range switch power supply circuit at the transmission range switch connector B-111.
1. Disconnect the transmission range switch connector B-111, and measure at the harness side.
2. Turn the ignition switch to "ON" position.
3. Measure the voltage between terminal 8 and ground.
- The value should be approximately 12 volts.

Q: Does the measured voltage correspond with this range?

YES : Go to Step 14.
NO: Go to Step 12.




STEP 12. Check transmission range switch connector B-111 for damage.

Q: Is transmission range switch connector B-111 in good condition?

YES: Go to Step 13.
NO: Repair or replace the connector. Then go to Step 17.




STEP 13. Check the wiring harness between transmission range switch connector B-111 (terminal 8) and the ignition switch (IG1).







NOTE: Also check junction block connector C-311 and C-312, joint connector C-25. If junction block connector C-311 or C-312, joint connector C-25 are damaged, repair or replace the connectors.Harness Connector Inspection P. 8W1-2.

Q: Is the wiring harness between transmission range switch connector B-111 (terminal 8) and the ignition switch (IG1) in good condition?

YES: Go to Step 17.
NO: Repair the wiring harness. Then go to Step 14.




STEP 14. Check the transmission range switch input circuit at the automatic anti-glare inside mirror connector D-04.

1. Disconnect the automatic anti-glare inside mirror connector D-04 and measure at the harness side.
2. Turn the ignition switch to "ON" position.
3. Measure the voltage between terminal 9 and ground.
- The value should be approximately 12 volts.

Q: Does the measured voltage correspond with this range?

YES: Repair the automatic anti-glare inside mirror. Then go to Step 17.
NO:Go to Step 15.







STEP 15. Check the transmission range switch connector B-111 and automatic anti-glare inside mirror connector D-04 for damage.

Q: Are the transmission range switch connector B-111 and automatic anti-glare inside mirror connector D-04 in good condition?


YES:Go to Step 16.
NO:Repair or replace the connector. Then go to Step 17.




STEP 16. Check the wiring harness between the transmission range switch connector B-111 (terminal 7) and the automatic anti-glare inside mirror connector D-04 (terminal 9).







NOTE: Also check joint connector C-25 and C-28. If joint connector C-25 or C-28 is damaged, repair or replace the connector.Harness Connector Inspection.

Q: Is the wiring harness between the transmission range switch connector B-111 (terminal 7) and the automatic anti-glare inside mirror connector D-04 (terminal 9) in good condition?

YES:Replace or repair the automatic anti-glare inside.mirror. Then go to Step 17.
NO: Repair the wiring harness. Then go to Step 17.

STEP 17. Check the symptoms

Q: When the reverse gear is engaged, is the automatic anti-glare inside mirror set to the day mode?

YES:There is no action to be taken.
NO:Replace the inside rear view mirror.