Curiosii for ever!
: Car repair manuals for everyone.
Home
>>
Dodge
>>
2002
>>
Stratus Sedan L4-2.4L VIN X
>>
Repair and Diagnosis
>>
Diagrams
>>
Connector Views
>>
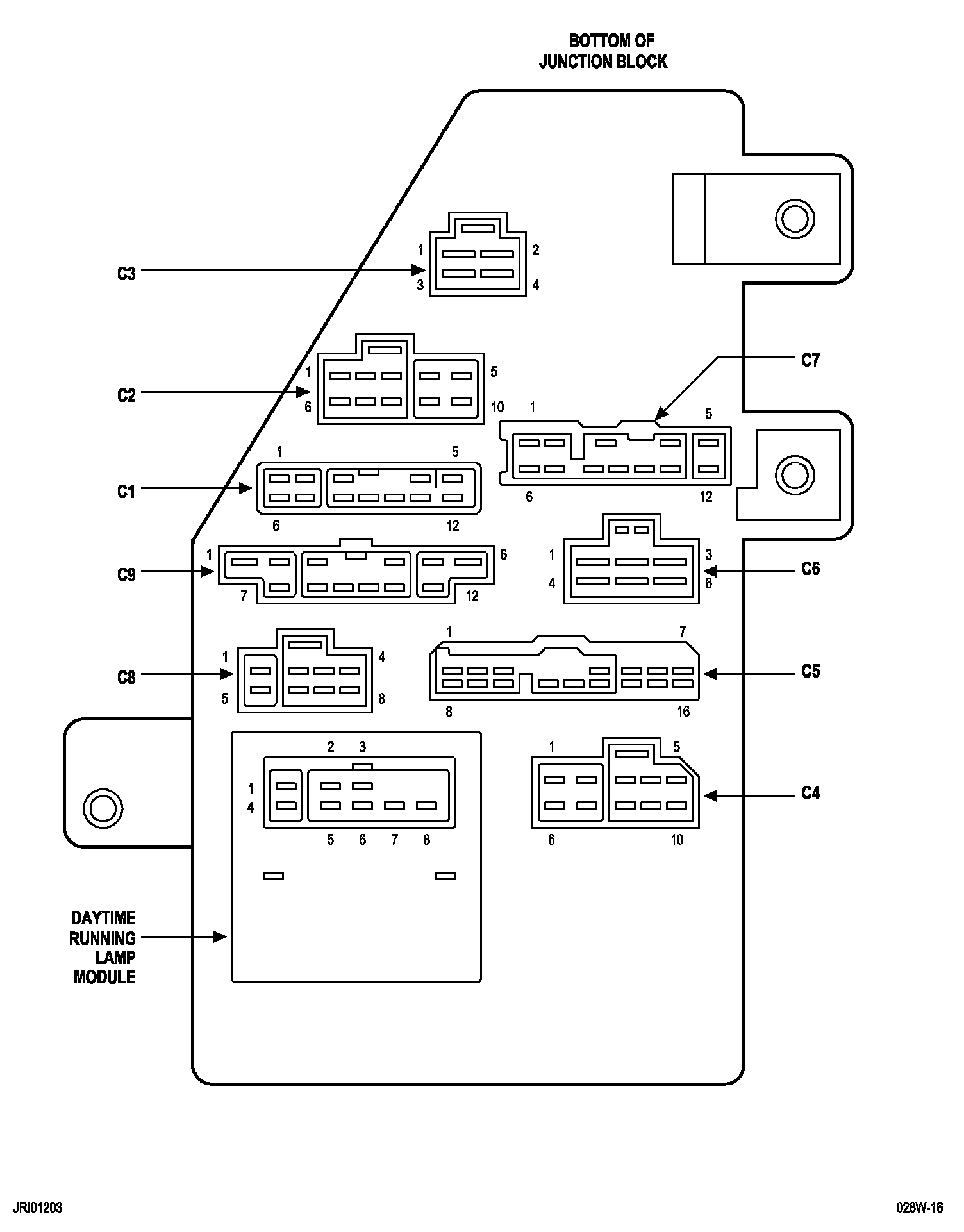
Daytime Running Lamp Control Unit
Daytime Running Lamp Control Unit
8w-12-2:
8w-12-3:
Daytime Running Lamp Module: