Curiosii for ever!: Car repair manuals for everyone.

Emission Control Systems: Description and Operation

Fig.8 PCV - 2.7L:




Fig.9 PCV - 3.2/3.5L:




[1][2]PCV HOSE
The PCV system has a heat exchanger in the PCV hose that works with the cooling system of the vehicle.

PCV VALVE

Fig.10 PCV Valve - 2.7L:




Fig.11 PCV Valve - 3.2/3.5L:




The PCV valve contains a spring loaded plunger. The plunger meters the amount of crankcase vapors routed into the combustion chamber based on intake manifold vacuum.

Fig.12 Engine OFF Or Engine Backfire No Vapor Flow:




When the engine is not operating or during an engine backfire, the spring forces the plunger back against the seat. This prevents vapors from flowing through the valve.

Fig.13 High Intake Manifold Vacuum Minimal Vapor Flow:




When the engine is at idle or cruising, high manifold vacuum is present. At these times manifold vacuum is able to completely compress the spring and pull the plunger to the top of the valve. In this position there is minimal vapor flow through the valve.

Fig.14 Moderate Intake Manifold Vacuum Maximum Vapor Flow:




During periods of moderate intake manifold vacuum the plunger is only pulled part way back from the inlet. This results in maximum vapor flow through the valve.

VAPOR CANISTER
All vehicles use a maintenance free, evaporative (EVAP) canister Fuel tank vapors vent into the canister. The canister temporarily holds the fuel vapors until intake manifold vacuum draws them into the combustion chamber. The Powertrain Control Module (PCM) purges the canister through the proportional purge solenoid. The PCM purges the canister at predetermined intervals and engine conditions.

Purge Free Cells
Purge-free memory cells are used to identify the fuel vapor content of the evaporative canister. Since the evaporative canister is not purged 100% of the time, the PCM stores information about the evaporative canister's vapor content in a memory cell.

The purge-free cells are constructed similar to certain purge-normal cells. The purge-free cells can be monitored by the DRB III Scan Tool. The only difference between the purge-free cells and normal adaptive cells is that in purge-free, the purge is completely turned OFF. This gives the PCM the ability to compare purge and purge-free operation.

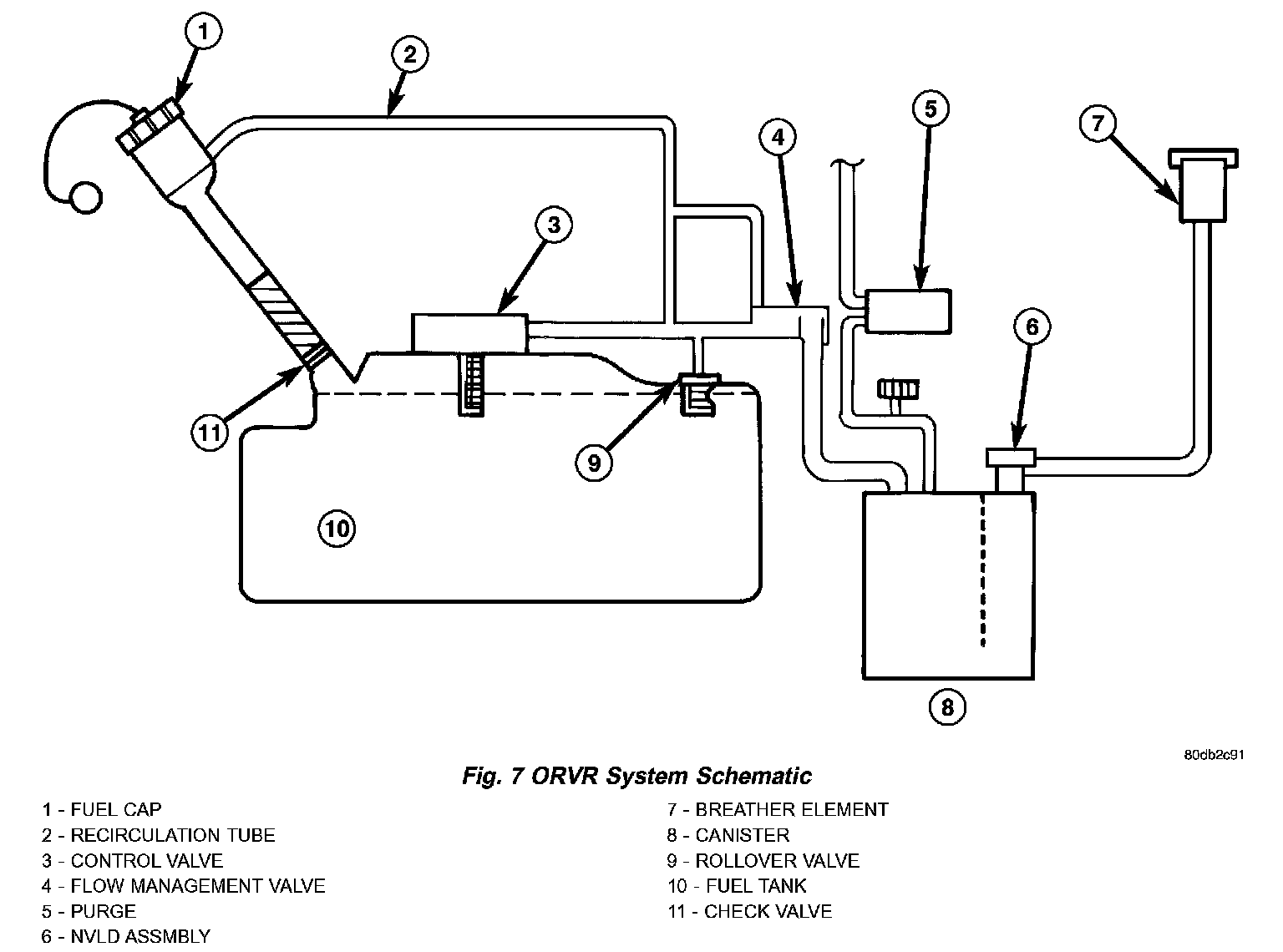
Fig.1 ORVR System Schematic:




EVAPORATIVE EMISSIONS
Evaporation Control System
The evaporation control system prevents the emission of fuel tank vapors into the atmosphere. When fuel evaporates in the fuel tank, the vapors pass through vent hoses or tubes to an activated carbon filled evaporative canister. The canister temporarily holds the vapors. The Powertrain Control Module (PCM) allows intake manifold vacuum to draw vapors into the combustion chambers during certain operating conditions.

All engines use a proportional purge solenoid system. The PCM controls vapor flow by operating the purge solenoid.

NOTE:
- The evaporative system uses specially manufactured hoses. If they need replacement, only use fuel resistant hose. Also the hoses must be able to pass an Ozone compliance test.
- For more information on Onboard Refueling Vapor Recovery (ORVR), refer to the Fuel Delivery section.

EVAP/PURGE SOLENOID
All vehicles use a proportional purge solenoid. The solenoid regulates the rate of vapor flow from the EVAP canister to the throttle body The PCM operates the solenoid.

During the cold start warm-up period and the hot start time delay, the PCM does not energize the solenoid. When de-energized, no vapors are purged.

Fig.2 Upstream Heated Oxygen Sensor 1/1:




The proportional purge solenoid operates at a frequency of 200 hz and is controlled by an engine controller circuit that senses the current being applied to the proportional purge solenoid and then adjusts that current to achieve the desired purge flow. The proportional purge solenoid controls the purge rate of fuel vapors from the vapor canister and fuel tank to the engine intake manifold.

FUEL FILLER CAP
The plastic fuel fill cap is threaded/quarter turn onto the end of the fuel filler tube Its purpose is to retain vapors and fuel in the fuel tank.

The fuel filler cap incorporates a two-way relief valve that is closed to atmosphere during normal operating conditions. The relief valve is calibrated to open when a pressure of 17 kPa (2.5 psi) or vacuum of 2 kPa (0.6 in. Hg) occurs in the fuel tank. When the pressure or vacuum is relieved, the valve returns to the normally closed position.

CAUTION: Remove the fuel filler cap to release fuel tank pressure before disconnecting any fuel system component.

Fig.3 NVLD Assembly:




NATURAL VAC LEAK DETECTION ASSY
The natural Vacuum Leak detection (NVLD) system is mounted on top of the EVAP canister that is mounted on the fuel tank.

The Natural Vacuum Leak Detection (NVLD) system is the next generation evaporative leak detection system that will first be used on vehicles equipped with the Next Generation Controller (NGC) starting in 2002 M.Y. This new system replaces the leak detection pump as the method of evaporative system leak detection. This is to detect a leak equivalent to a 0.020" (0.5 mm) hole. This system has the capability to detect holes of this size very dependably.

The basic leak detection theory employed with NVLD is the "Gas Law". This is to say that the pressure in a sealed vessel will change if the temperature of the gas in the vessel changes. The vessel will only see this effect if it is indeed sealed. Even small leaks will allow the pressure in the vessel to come to equilibrium with the ambient pressure. In addition to the detection of very small leaks, this system has the capability of detecting medium as well as large evaporative system leaks.

A vent valve seals the canister vent during engine OFF conditions. If the vapor system has a leak of less than the failure threshold, the evaporative system will be pulled into a vacuum, either due to the cool down from operating temperature or diurnal ambient temperature cycling. The diurnal effect is considered one of the primary contributors to the leak determination by this diagnostic. When the vacuum in the system exceeds about 1" H2O (0.25 KPA), a vacuum switch closes. The switch closure sends a signal to the NGC. The NGC, via appropriate logic strategies (described below), utilizes the switch signal, or lack thereof, to make a determination of whether a leak is present.

The NVLD device is designed with a normally open vacuum switch, a normally closed solenoid, and a seal, which is actuated by both the solenoid and a diaphragm. The NVLD is located on the atmospheric vent side of the canister. The NVLD assembly may be mounted on top of the canister outlet, or in-line between the canister and atmospheric vent filter. The normally open vacuum switch will close with about 1" H2O (0.25 KPA) vacuum in the evaporative system. The diaphragm actuates the switch. This is above the opening point of the fuel inlet check valve in the fill tube so cap off leaks can be detected. Submerged fill systems must have recirculation lines that do not have the in-line normally closed check valve that protects the system from failed nozzle liquid ingestion, in order to detect cap off conditions.

The normally closed valve in the NVLD is intended to maintain the seal on the evaporative system during the engine OFF condition. If vacuum in the evaporative system exceeds 3" to 6" H2O (0.75 to 1.5 KPA), the valve will be pulled off the seat, opening the seal. This will protect the system from excessive vacuum as well as allowing sufficient purge flow in the event that the solenoid was to become inoperative.

The solenoid actuates the valve to unseal the canister vent while the engine is running. It also will be used to close the vent during the medium and large leak tests and during the purge flow check. This solenoid requires initial 1.5 amps of current to pull the valve open but after 100 ms. will be duty cycled down to an average of about 150 mA for the remainder of the drive cycle.

Another feature in the device is a diaphragm that will open the seal in the NVLD with pressure in the evaporative system. The device will "blow OFF" at about 0.5" H2O (0.12 KPA) pressure to permit the venting of vapors during refueling. An added benefit to this is that it will also allow the tank to "breathe" during increasing temperatures, thus limiting the pressure in the tank to this low level. This is beneficial because the induced vacuum during a subsequent declining temperature will achieve the switch closed (pass threshold) sooner than if the tank had to decay from a built up pressure.

The device itself has 3 wires: Switch sense, solenoid driver and ground. It also includes a resistor to protect the switch from a short to battery or a short to ground. The NGC utilizes a high-side driver to energize and duty-cycle the solenoid.

ORVR
Onboard Refueling Vapor Recovery (ORVR) System Schematic and components.

Fig.7 ORVR System Schematic:




The emission control principle used in the ORVR system is that the fuel flowing into the filler tube (approx. 1" I.D.) creates an aspiration effect which draws air into the fill tube. During refueling, the fuel tank is vented to the vapor canister to capture escaping vapors. With air flowing into the filler tube, there are no fuel vapors escaping to the atmosphere. Once the refueling vapors are captured by the canister, the vehicle's computer controlled purge system draws vapor out of the canister for the engine to burn. The vapors flow is metered by the purge solenoid so that there is no or minimal impact on driveability or tailpipe emissions.

As fuel starts to flow through the fill tube, it opens the normally closed check valve and enters the fuel tank. Vapor or air is expelled from the tank through the control valve to the vapor canister. Vapor is absorbed in the canister until vapor flow in the lines stops, either following shut-off or by having the fuel level in the tank rise high enough to close the control valve. The control valve contains a float that rises to seal the large diameter vent path to the canister. At this point in the fueling of the vehicle, the tank pressure increase, the check valve closes (preventing tank fuel from spiting back at the operator), and fuel then rises up the filler tube to shut-off the dispensing nozzle.

If the engine is shut-off while the On-Board diagnostics test is running, low level tank pressure can be trapped in the fuel tank and fuel can not be added to the tank until the pressure is relieved. This is due to the leak detection pump closing the vapor outlet from the top of the tank and the one-way check valve not allowing the tank to vent through the fill tube to atmosphere. Therefore, when fuel is added, it will back-up in the fill tube and shut off the dispensing nozzle. The pressure can be eliminated in two ways: 1.Vehicle purge must be activated and for a long enough period to eliminate the pressure. 2. Removing the fuel cap and allowing enough time for the system to vent thru the recirculation tube.