Curiosii for ever!: Car repair manuals for everyone.

Auto-Cruise Control Main Switch

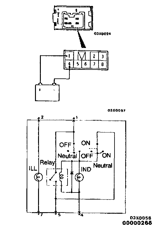
AUTO-CRUISE CONTROL MAIN SWITCH CHECK







1. Operate the switch and check for continuity between the terminals.
2. When the battery (+) side is connected to terminal 1 and the (-) side is connected to terminal 4, and the main switch is turned to ON, check if battery voltage is output between terminal 5 and the ground until the main switch is turned to OFF.
Next, when the main switch is turned to OFF, check if the battery voltage that was output between terminal 5 and the ground becomes 0 Volts.