Curiosii for ever!: Car repair manuals for everyone.

Sensor Heating Element Test

Oxygen Sensor And Connector:




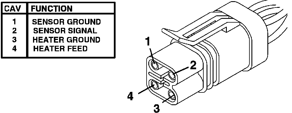
Oxygen Sensor Connector Identification And PINOUT:





1. Disconnect the Heated Oxygen Sensor (O2S), electrical connector from the wiring harness.
2. Set DVOM to read OHMS. Connect the ohmmeter between the heater feed and heater ground (terminals 3 and 4), of the sensor electrical connector.
3. Resistance should be between 5 and 7 ohms, if not replace the sensor.