Curiosii for ever!
: Car repair manuals for everyone.
Home
>>
Dodge
>>
1992
>>
Colt L4-1468cc 1.5L SOHC
>>
Repair and Diagnosis
>>
Diagrams
>>
Connector Views
>>
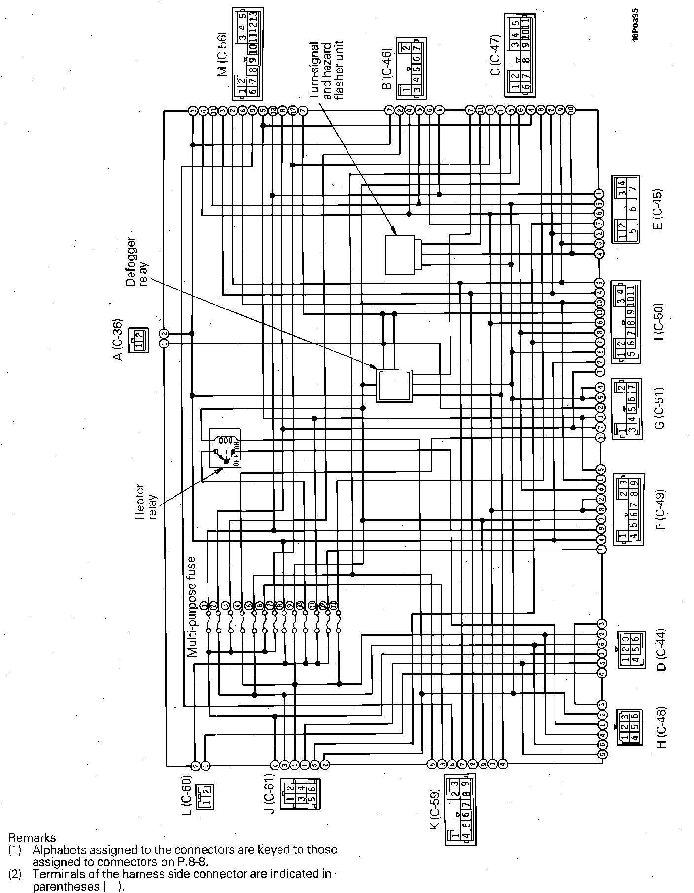
Multiple Junction Connector
>>
Connector Pinouts
Connector Pinouts
Junction Block (Schematic):