Curiosii for ever!
: Car repair manuals for everyone.
Home
>>
Dodge or Ram Truck
>>
2009
>>
Nitro 2WD V6-3.7L
>>
Repair and Diagnosis
>>
Diagrams
>>
Connector Views
>>
Power Distribution Module
>>
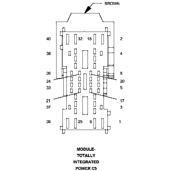
Totally Integrated Power Module C5 (Body) 40 Way
Totally Integrated Power Module C5 (Body) 40 Way
Connector C5 - (BODY) 40 WAY
MODULE-TOTALLY INTEGRATED POWER - (BODY) 40 WAY