Curiosii for ever!
: Car repair manuals for everyone.
Home
>>
Dodge or Ram Truck
>>
2009
>>
Journey AWD V6-3.5L
>>
Repair and Diagnosis
>>
Diagrams
>>
Connector Views
>>
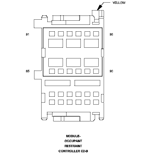
Air Bag Control Module
>>
Occupant Restraint Controller Module (Instrument Panel) 12 Way
>>
C2-B
C2-B
Connector - (INSTRUMENT PANEL) 12 WAY
MODULE-OCCUPANT RESTRAINT CONTROLLER - (INSTRUMENT PANEL) 12 WAY