Curiosii for ever!: Car repair manuals for everyone.

Engine - Loss of Power/Poor Acceleration

84chrysler10

Models


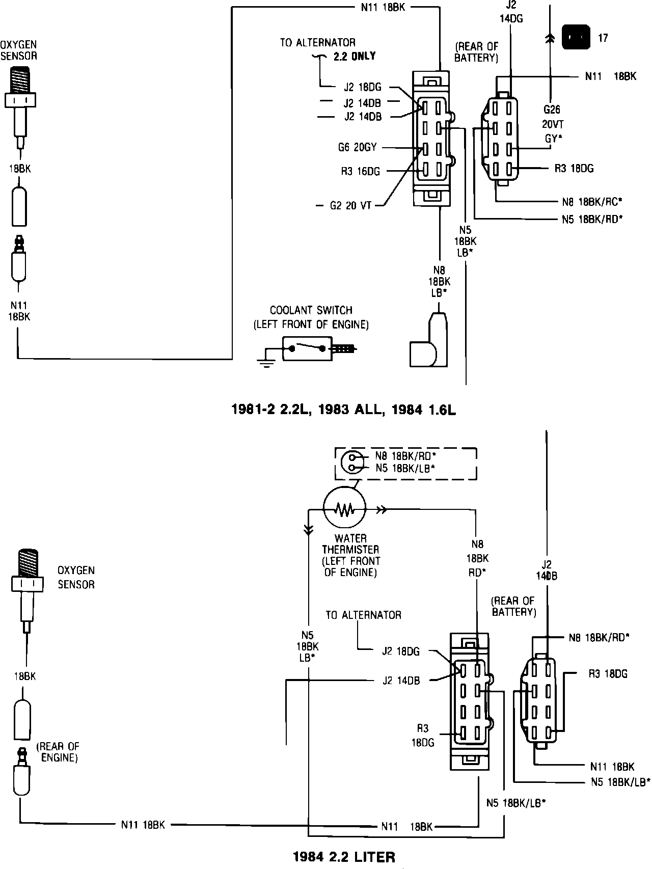
1981 Through 1984 2.2L, 1983 1.7L & 1983-1984 1.6L Carbureted Engine Domestic Vehicles


Subject


Poor Performance/ Intermittent Loss of Power (Sag) From O2 Wire Leakage


Index


ELECTRICAL

Date


July 9, 1984

No.


08-16-84

P-2801-C
SYMPTOM/CONDITION

Vehicle may exhibit an intermittent loss of power (sag) while driving at steady speeds or exhibit intermittent poor performance accelerating off idle.

The above conditions may be aggravated in damp weather.

One or both of these conditions may be caused by electrical tracking at the eight-way engine harness connector. Voltage feeds may track to the O2 wire and coolant sensor (for those models equipped with coolant sensor not switch).

DIAGNOSIS

This condition is intermittent and it may be difficult to diagnose using the Driveability Test Procedure.

^ Connect a voltmeter to the O2 solenoid green wire at carburetor and ground.

^ Connect tachometer.

^ Disconnect and plug ESA computer vacuum hose. With auxiliary vacuum supply, apply 14 inches vacuum to computer.

^ Start engine and operate until engine is at full operating temperature.

^ Raise engine speed to 2000 rpm.

Voltage should be fluctuating beyond 10 volts.

^ Thoroughly dampen the eight-way connector with a mist sprayer for up to one minute.

If voltage drops significantly, proceed to repair procedure.
Vehicles Equipped With Coolant Sensor Only

^ If voltage did not drop, additional testing is required.

^ Shut engine off.

^ With engine not running, again thoroughly dampen the eight-way connector.

^ Restart vehicle and wait 30 seconds.

^ Raise engine speed to 2000 rpm.

^ Note voltmeter. A steady reading indicates O2 System is in open loop. If so, proceed to repair procedure.

PARTS REQUIRED

1 - Male Insulator (Purple) PN 4124686
1 - Female Insulator (Purple) PN 4124687
1 - Male Insulator (Natural) PN 4274267
1 - Female Insulator (Natural) PN 3843754
1 - Grease PN 4318063

REPAIR PROCEDURE (O2 WIRE)

1. Disconnect battery.

2. Remove air cleaner duct.

FIGURE 1:




3. Disconnect engine eight-way connector (Figure 1).

FIGURE 2:




4. Extract N11 #18 black wire from both connector halves and reset female terminal tang (Figure 2). Be sure terminals are clean and bright.

5. Coat the terminals liberally with Grease, PN 4318063, and snap into Purple Insulators PN 4124686 and PN 4124687.

6. Pack grease into terminal cavities through wire grip areas until full. Mate the single connectors.

7. Vehicles With Coolant Sensor Only

a. Extract N8 #18 black/red wire from both connector halves and reset female terminal tang (Figure 2). Be sure terminals are clean and bright.
b. Coat liberally with Grease, PN 4318063, and snap into Natural Insulators PN 4274267 and 3843753.

c. Pack grease into terminal cavities through wire grip areas until full. Mate the single connectors.
8. Reconnect engine eight-way connector.

9. Reinstall air cleaner duct and reconnect battery.

10. Start engine. Recheck O2 and coolant sensor (where used) operation. Remove instruments. Unplug and reconnect vacuum hose to ESA computer.


This bulletin is released in advance of parts availability. The parts listed in this bulletin will be available in late July, 1984.


POLICY: Reimbursable within the provisions of the warranty


TIME ALLOWANCE:
Labor Operation No. 08-90-66-93.............................0.4 Hrs.


FAILURE CODE: 21 - Connection Defect