Curiosii for ever!: Car repair manuals for everyone.

Brake Pads - Inspection







INSPECTION

Visually inspect brake pads for uneven lining wear. Also inspect for excessive lining deterioration. Check the clearance between the tips of the wear indicators (if equipped) on the pads and the brake rotors.

If a visual inspection does not adequately determine the condition of the lining, a physical check will be necessary. To check the amount of lining wear, remove the disc brake pads from the vehicle.










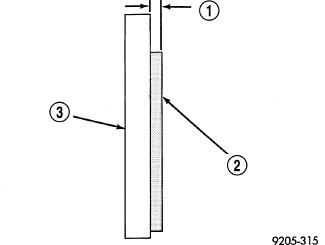
Measure brake pad minimum thickness (1). Brake pads must be replaced when usable material on a brake pad lining (2) measured at its thinnest point measures one millimeter (0.04 inches) or less.

If a brake pad fails inspection, replace both disc brake pads (inboard and outboard) at each caliper. It is also necessary to replace the pads on the opposite side of the vehicle as well as the pads failing inspection to maintain proper braking characteristics.

If the brake pad assemblies do not require replacement, be sure to reinstall the brake pads in the original position they were removed from.

NOTE:
It is important to inspect both front and rear brake pads during the same inspection.