Curiosii for ever!: Car repair manuals for everyone.

Front







ASSEMBLY

NOTE:
Always have clean hands when assembling a brake caliper.

NOTE:
Always use fresh, clean brake fluid when assembling a brake caliper.










NOTE:
Never use an old piston seal.

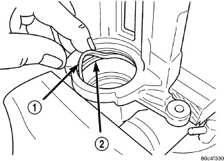
1. Dip the NEW piston seal in clean brake fluid and install it in the groove (2) of the caliper bore. The seal (1) should be started at one area of the groove and gently worked around into the groove using only your clean fingers to seat it.





2. Coat the NEW piston with clean brake fluid.

3. Coat the NEW piston boot with clean brake fluid leaving a generous amount inside the boot.

4. Position the dust boot over the lower section of the piston.

5. Extend the dust boot below the bottom of the piston and guide the lip seal into the groove in the caliper piston bore.










CAUTION:
Force applied to the piston (1) to seat it in the bore must be applied uniformly to avoid cocking and binding of the piston.

6. Install the piston (1) into the bore, carefully pushing it past the piston seal using hand pressure. Push the piston in until it bottoms in the caliper bore and the dust boot lip seal falls into the groove near the top of the piston.

7. Install the caliper on the vehicle and bleed the brakes as necessary. Disc Brake Caliper - Installation