Curiosii for ever!: Car repair manuals for everyone.

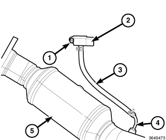
Exhaust Differential Pressure Sensor - Installation






6.4L





1. If removed, install the Differential Pressure Sensor (DPS) metal tubing fitting (4).
2. Install the DPS (1) to the bracket.
3. Install the DPS and bracket in vehicle.
4. Connect the DPS hose.
5. Lower the vehicle.
6. Connect the negative battery cable.