Curiosii for ever!
: Car repair manuals for everyone.
Home
>>
Chrysler
>>
2010
>>
Sebring Convertible V6-2.7L
>>
Repair and Diagnosis
>>
Engine, Cooling and Exhaust
>>
Engine
>>
Cylinder Head Assembly
>>
Rocker Arm Assembly
>>
Service and Repair
>>
Procedures
Procedures
INSPECTION
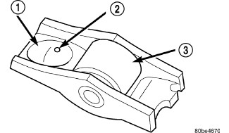
Inspect the cam follower assembly for wear or damage. Replace as necessary.