Curiosii for ever!: Car repair manuals for everyone.

Disassembly







DISASSEMBLY





1. Mount input clutch assembly (3) to Input Clutch Pressure Fixture Tool 8391.
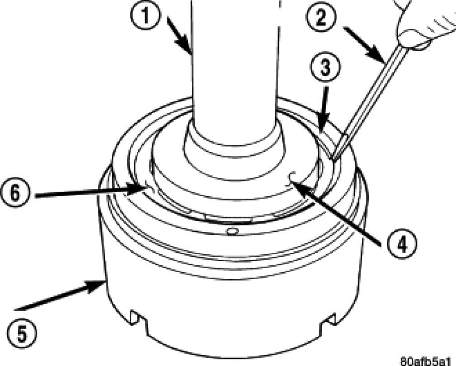
2. Tap down reverse clutch reaction plate (4) to release pressure from snap ring (2).




3. Remove reverse clutch snap ring (3).




4. Pry up and remove reverse clutch reaction plate (1).




5. Remove reverse clutch pack (3,4). Tag components for assembly identification.




6. Remove the OD/Reverse pressure plate snap ring (1).
7. Remove OD/Reverse pressure plate (2).
8. Remove OD/Reverse pressure plate wave snap ring (3).
9. Remove OD clutch pack (4,5). Tag components for assembly identification.




10. Remove and inspect OD (1) and UD Shafts (4), as well as number three thrust washer and plate (2, 3), and number two needle bearing (5).




11. Remove the OD/UD reaction plate tapered snap ring (1), clutch plate (5), and first clutch disc (3).
12. Remove the UD clutch flat snap ring (4) and rest of the input clutch assembly (6). Tag clutch pack for assembly identification.




CAUTION: Compress return spring just enough to remove or install snap ring.

13. Using Compressor 5059A (4) and an arbor press (2), compress UD clutch piston/spring enough to remove snap ring (3).




14. Refer to the exploded view as necessary when performing the following steps
15. Remove spring retainer (2), spring (3), and UD clutch piston (4).




16. Remove input hub tapered snap ring (2).




17. Tap on input hub with soft faced hammer (2) and separate input hub from OD/Reverse piston and clutch retainer.




18. Separate clutch retainer (2) from OD/Reverse piston (1).




19. Using Disk 6057 (4) and an arbor press (1), compress return OD/Reverse piston return spring just enough to remove snap ring (3).




20. Remove input shaft to input clutch hub snap ring (3).




21. Using a suitably sized socket (2) and an arbor press (1), remove input shaft (5) from input shaft hub (7).




22. Refer to the exploded view as necessary when performing the above steps