Curiosii for ever!: Car repair manuals for everyone.

Assembly







ASSEMBLY





Use petrolatum on all seals to ease assembly of components.

1. Using an arbor press (2), install input shaft (1) to input shaft hub (3).




2. Install input shaft snap ring (3).




3. Place OD/Reverse piston (1) return spring (2) and snap ring (3) into position.




4. Using an arbor press (1) and Disk 6057 (4), install OD/Reverse piston (5), return spring (6), and snap ring (3).




5. Install the OD/Reverse piston assembly (1) to the input clutch retainer (2).




6. Install the input hub/shaft assembly. (rotate to align splines) (1) to the OD/Reverse piston/clutch retainer assembly (2).




7. Refer to the exploded view as necessary when performing the following steps.




8. Install input hub tapered snap ring (tapered side up with tabs in cavity) (2).




9. Install UD clutch piston (1).




10. Install UD piston return spring (1) and Installer 5067 (2).




11. Refer to the exploded view as necessary when performing the following steps.




12. Place the UD spring retainer (1) and snap ring (2) into position.




13. Using Compressor 5059A (6) and an arbor press (1), Install the UD spring retainer and snap ring (3) Compress just enough to install snap ring (3).

CAUTION: Compress return spring just enough to install snap ring.





14. Install the UD clutch pack (1,3). Leave out upper disc (2), until snap ring is installed.




15. Install the UD clutch flat snap ring (1).




16. Install the last UD clutch disc (1).




17. Place the OD/UD clutch reaction plate (1) and snap ring into position. The OD/UD clutches reaction plate has a step on both sides. Install the OD/UD clutches reaction plate tapered step side up.




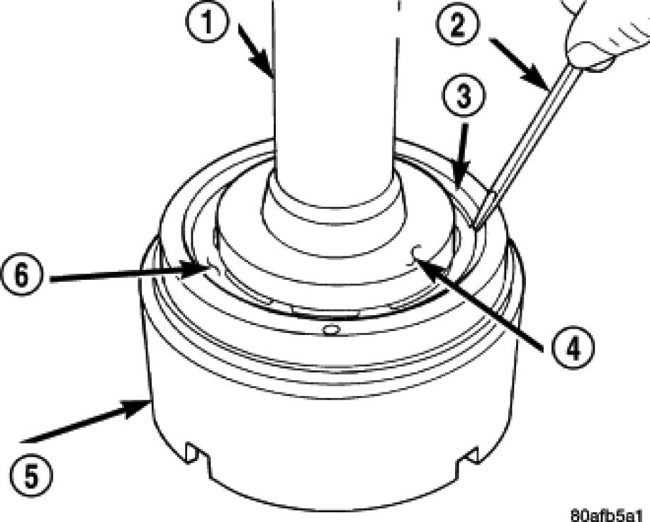
18. Install the snap ring (1) using a screwdriver (2).

NOTE: Snap ring ends must be located within one finger of the input clutch hub. Be sure that snap ring is fully seated, by pushing with screwdriver, into snap ring groove all the way around.

NOTE: Do not reuse tapered snap ring.





19. Refer to the exploded view as necessary when performing the following steps.




NOTE: Do not reuse tapered snap ring.

20. Seat tapered snap ring (1) to ensure proper installation.




21. Install input clutch assembly (1) to the Input Clutch Pressure Fixture 8391 (2).




22. Set up dial indicator (1) on the UD clutch pack (2).




23. Using moderate pressure, press down and hold (near indicator) the UD clutch pack (2) with screwdriver or suitable tool and zero dial the indicator. When releasing pressure on clutch pack, indicator reading should advance (0.005-0.010 in.).

CAUTION: Do not apply more than 30 psi (206 kPa) to the underdrive clutch pack.

24. Apply 30 psi (206 kPa) to the underdrive hose on Input Clutch Pressure Fixture 8391 and measure UD clutch clearance. Measure and record UD clutch pack measurement in four places, 90° apart.
25. Take average of four measurements and compare with UD clutch pack (2) clearance specification. Underdrive clutch pack clearance must be 0.94-1.50 mm (0.037-0.059 in.).
26. If necessary, select the proper reaction plate to achieve specifications:








27. Install the OD clutch pack (four frictions/three steels) (1).




28. Install OD pressure plate waved snap ring (1).




29. Install the OD/Reverse pressure plate (1) with large step down (towards OD clutch pack) (2).




30. Refer to the exploded view as necessary when performing the following steps.




31. Install OD pressure plate flat snap ring (3).




32. Measure OD clutch pack clearance. Set up dial indicator (1) on top of the OD/Reverse pressure plate.
33. Zero dial indicator and apply 30 psi (206 kPa) air pressure to the overdrive clutch hose on Tool 8391. Measure and record OD clutch pack measurement in four (4) places, 90° apart.
34. Take average of four measurements and compare with OD clutch pack clearance specification. The overdrive (OD) clutch pack clearance is 0.491-2.345 mm 0.019-.092 in.
If not within specifications, the clutch is not assembled properly. There is no adjustment for the OD clutch clearance.





35. Install reverse clutch pack (two frictions/one steel) (1,2).




36. Install reverse clutch reaction plate with the flat side down towards reverse clutch.




37. Refer to the exploded view as necessary when performing the following steps.




38. Tap reaction plate (3) down to allow installation of the reverse clutch snap ring (1) Install reverse clutch snap ring (1).




39. Pry up reverse reaction plate (4) to seat against snap ring (2).




40. Set up a dial indicator (1) on the reverse clutch pack (2).




41. Using moderate pressure, press down and hold (near indicator) reverse clutch disc (2) with screwdriver or suitable tool and zero dial indicator (1). When releasing pressure, indicator should advance (0.005-0.010 in.) as clutch pack relaxes.
42. Apply 30 psi (206 kPa) air pressure to the reverse clutch hose on Input Clutch Pressure Fixture 8391. Measure and record reverse clutch pack measurement in four places, 90° apart.
43. Take average of four measurements and compare with reverse clutch pack clearance specification. The reverse clutch pack clearance is 0.89-1.37 mm (0.035-0.054 in.). Select the proper reverse clutch snap ring to achieve specifications:








NOTE: The No. 2 bearing is a light press fit into the clutch hub. There are 5 tabs with dimples that can be pressed in by hand.

44. To complete the assembly, reverse clutch and overdrive clutch must be removed.
45. Install the number two needle bearing (1).




46. Install the underdrive shaft assembly (1).




47. Install the number three thrust washer (1) to the underdrive shaft assembly (2). Be sure five tabs are seated properly.




48. Install the number three thrust plate (3) (note 3 tabs) to the bottom of the overdrive shaft assembly (1). Retain with petrolatum or transmission assembly gel (2).




49. Refer to the exploded view as necessary when performing the following steps.




50. Install the overdrive shaft assembly (1).
51. Reinstall overdrive and reverse clutch as shown. Rechecking these clutch clearances is not necessary.