Curiosii for ever!: Car repair manuals for everyone.

Part 2











47. Install Holder 9739 (2) onto the output transfer gear (3).
48. Remove the output transfer gear bolt (1).




49. Grind the staked tabs (1) from the transfer gear (underdrive compounder side).
50. Install Holder 9739 onto the transfer gear (underdrive compounder side) and remove the nut.
51. Lift the transfer gear from the underdrive compounder shaft.




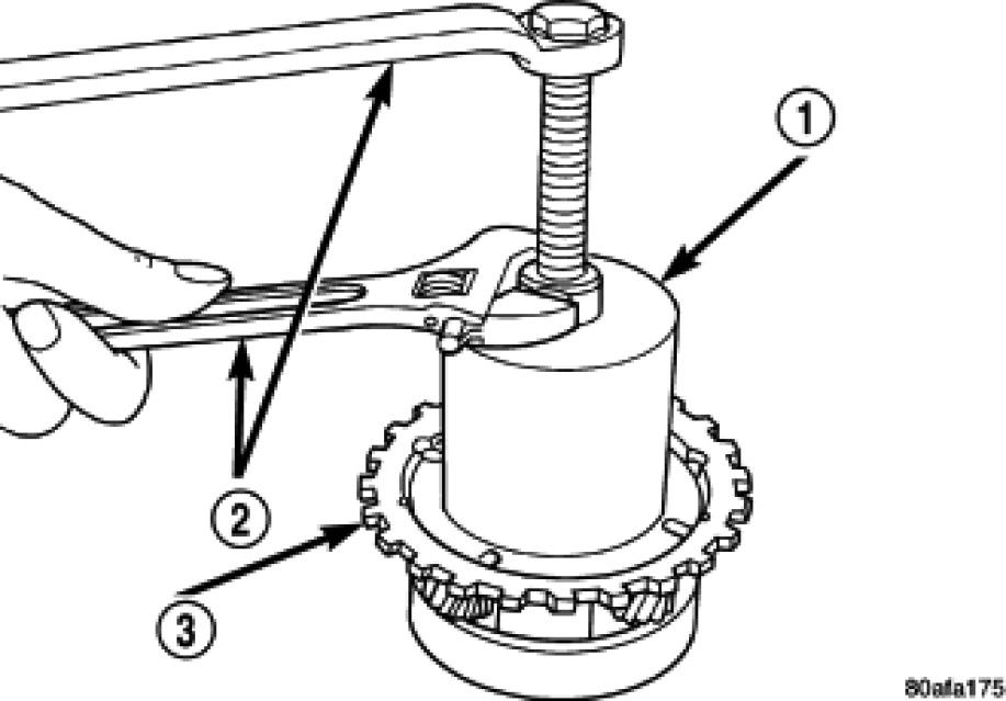
52. Using Gear Puller L-4407 (1) and Button 6055 (3) remove output shaft transfer gear (2) and select shim.




53. Using Puller Set 5048 with Jaws 5048-5 and button L-4539-2 (1) remove output gear bearing cone.




54. Using Puller C-293 -PA (1), Adaptors 9738 (3) and Press Plug 9678 remove compounder transfer gear bearing cone.




55. Remove rear carrier assembly (1) from transaxle (2).




56. Remove rear carrier assembly (3) bearing cone using Puller Set 5048 with Jaws 5048-3 and Button 6055.




57. Install Disk 6057 (1), Compressor 5059 (2) and Compressor Bar 5058-3 (3).




58. Compress low/reverse spring using Compressor 5059 (4).




59. Remove snap ring (1) at low/reverse piston return spring.




60. Remove low/reverse spring compressor tool and low reverse piston return spring (1).




61.
NOTE: The Low/Reverse Clutch Piston has bonded seals which are not individually serviceable. Seal replacement requires replacement of the piston assembly.
Remove low/reverse clutch piston (1).




62. Remove low/reverse piston retainer-to-case screws (3).




63. Remove low/reverse piston retainer (1).




64. Remove low/reverse piston retainer-to-case gasket (2), gasket holes must line up (1).




65. Using a hammer and suitable drift (2), drive out inner output bearing cup (1).




66. Using Remover 6062 (1), remove outer output bearing cup (2).




67. Remove the snap ring (1) at the underdrive compounder assembly (2).




68. Remove four bolts (1) at the compounder bearing retainer.




69. Install Holder 9908 (2) to the compounder bearing retainer.




70. Install Slide Hammer C-3752 (1) to Holder 9908 (2) and pull the underdrive compounder assembly from the case.




NOTE: Insure that the planetary gear set / output hub is removed as part of the underdrive compounder assembly.

71. Remove the underdrive compounder assembly (2).




72. Remove the bolts (1) at the remote pinion cover (2).




73. Remove the remote pinion (1) and the remote pinion cover (2) from the case.




74. Remove the remote pinion cover (1) from the remote pinion (2).




75. Using Remover 8913 (2) and Brace 8915 (1) remove the remote pinion cover bearing cup (3) and selective shim.




76. Using Remover 8912 and Brace 8915 (1, 2) pull remote pinion small bearing cup (3) from the case.




77. Remove the differential output bearing cover bolts (1).
78. Remove differential output bearing cover (2).




79. Remove the differential cover bolts (1).




80. Remove the differential cover (1).
81. Remove the out seal (2), oil singer (3) and the small bearing cup (4).
82. Remove the large bearing cup.




83. Remove the differential.
84. Remove the manual lever and TRS Removal.




85. Remove the set screw (1) for the park pawl shaft.




86. Remove the snap ring (1) for the park guide assembly (2).




87. Remove the park guide assembly (1).




88. Remove the plug (1) to allow the park pawl shaft to be removed.




89. Slide the shaft (1) out of the park pawl (3).




90. Remove the park pawl shaft (1).




91. Remove the park pawl (1) and the park pawl spring (2).