Curiosii for ever!: Car repair manuals for everyone.

Fog/Driving Lamp: Adjustments







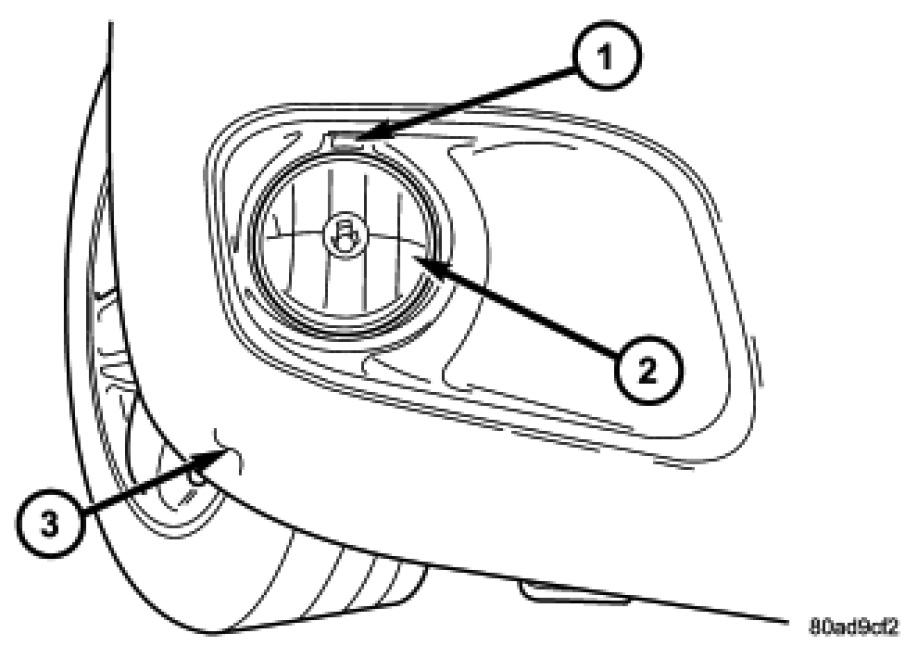
FOG LAMP ALIGNMENT





Prepare an alignment screen Adjustments. A properly aligned fog lamp unit will project a pattern on the alignment screen 100 mm (4 in.) (2) below the fog lamp center line (1) and straight ahead.





To adjust fog lamp unit alignment, rotate alignment screw (1) to achieve the specified low beam hot spot pattern.