Curiosii for ever!: Car repair manuals for everyone.

Expansion/Freeze Plug: Service and Repair







ENGINE CORE AND OIL GALLERY PLUGS





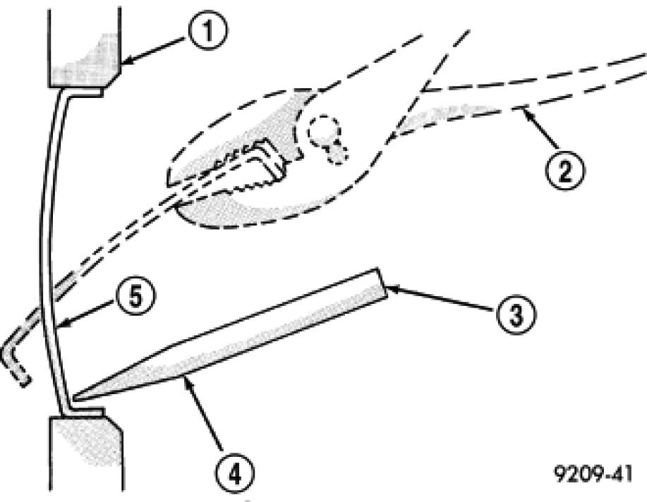
Using a blunt tool such as a drift and a hammer, strike the bottom edge of the cup plug. With the cup plug rotated, grasp firmly with pliers or other suitable tool and remove plug.

CAUTION: Do not drive cup plug into the casting as restricted cooling can result and cause serious engine problems.

Thoroughly clean inside of cup plug hole in cylinder block or head. Be sure to remove old sealer. Lightly coat inside of cup plug hole with Mopar(R) Stud and Bearing Mount. Make certain the new plug is cleaned of all oil or grease. Using proper drive plug, drive plug into hole so that the sharp edge of the plug is at least 0.5 mm (0.020 in.) inside the lead-in chamfer.

It is not necessary to wait for curing of the sealant. The cooling system can be refilled and the vehicle placed in service immediately.