Curiosii for ever!: Car repair manuals for everyone.

Disassembly







DISASSEMBLY





Refer to the exploded view as necessary when performing the following steps.





1. Mount input clutch assembly to Input Clutch Pressure Fixture 8391.
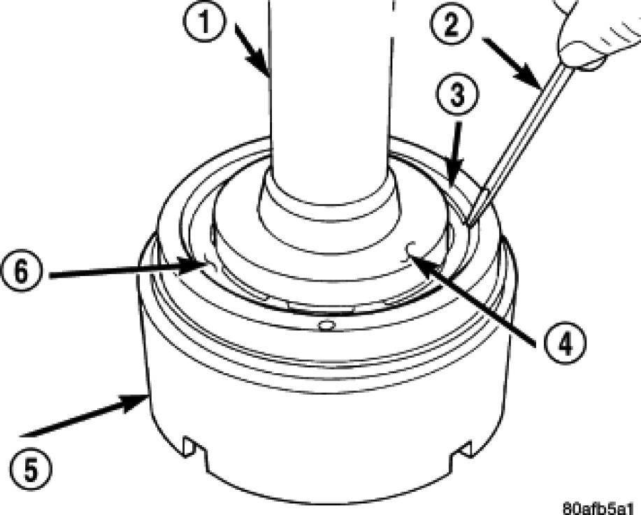
2. Tap down reverse clutch reaction plate to release pressure from snap ring (2).




3. Remove reverse clutch snap ring (3).




4. Pry up (2,3) and remove reverse clutch reaction plate (1).




5. Remove reverse clutch pack (1,2,3 and 4). Tag components for assembly identification.




6. Remove the OD/Reverse pressure plate snap ring (1).
7. Remove OD/Reverse pressure plate (2).
8. Remove OD/Reverse pressure plate wave snap ring (3).
9. Remove OD clutch pack (4,5). Tag components for assembly identification.




10. Remove and inspect OD (1) and UD (4) Shafts, as well as #3 thrust washer (3) and plate (2), and #2 needle bearing (5).




11. Remove the OD/UD reaction plate (2) tapered snap ring (1), reaction plate, and first friction disc (3).




12. Remove the UD clutch flat snap ring (3) and rest of UD clutch pack. Tag clutch pack for assembly identification.

CAUTION: Compress return spring just enough to remove or install snap ring.

13. Using Compressor 5059A (4) and an Arbor Press (2), compress UD clutch piston/spring enough to remove snap ring (3).




14. Remove spring retainer (2), spring (3), and piston (4).




15. Remove input hub tapered snap ring (2).




16. Tap on input hub (1) with soft faced hammer (2) and separate input hub from OD/Reverse piston and clutch retainer.




17. Separate clutch retainer (2) from OD/Reverse piston (1).




18. Using Disc 6057 (4) and an Arbor Press, compress return OD/Reverse piston return spring just enough to remove snap ring (3).




19. Remove input shaft to input clutch hub snap ring (3).




20. Using a suitably sized socket (2) and an Arbor Press (1), remove input shaft from input shaft hub (7).