Curiosii for ever!: Car repair manuals for everyone.

Part 2












41. Install Holder 6259 (3).




42. Remove transfer shaft gear-to-shaft nut (3) and coned washer (2).




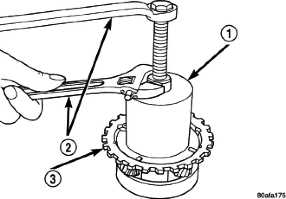
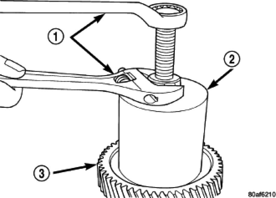
43. Using Gear Puller L-4407A (1, 3), remove transfer shaft gear.




44. Remove transfer gear shim (select) (3).




45. Remove bearing cup retainer (2).




46. Remove transfer gear bearing cone using Puller Set 5048 with Jaws 5048-4 and Button L-4539-2.




47. Remove transfer shaft bearing cup from retainer using Remover 6062 (2).




48. Using Snap Ring Pliers 6051(1), remove transfer shaft bearing snap ring (2).




49. Using Remover/Installer 5049A (1), remove transfer shaft (2) from transaxle.




50. Slip bearing cup (1) and oil baffle (4) off of shaft (3).




51. Using Bearing Splitter P-334 (3), press transfer shaft bearing cone (4) off of shaft (2).




52. Bend output gear retaining strap (1) ears flat to allow bolt removal.
53. Remove output shaft stirrup strap bolts (3).




54. Remove stirrup (3) and strap (2).




55. Install Holder 6259 (2).




56. Remove output shaft gear-to-shaft bolt (2) and washer (3).




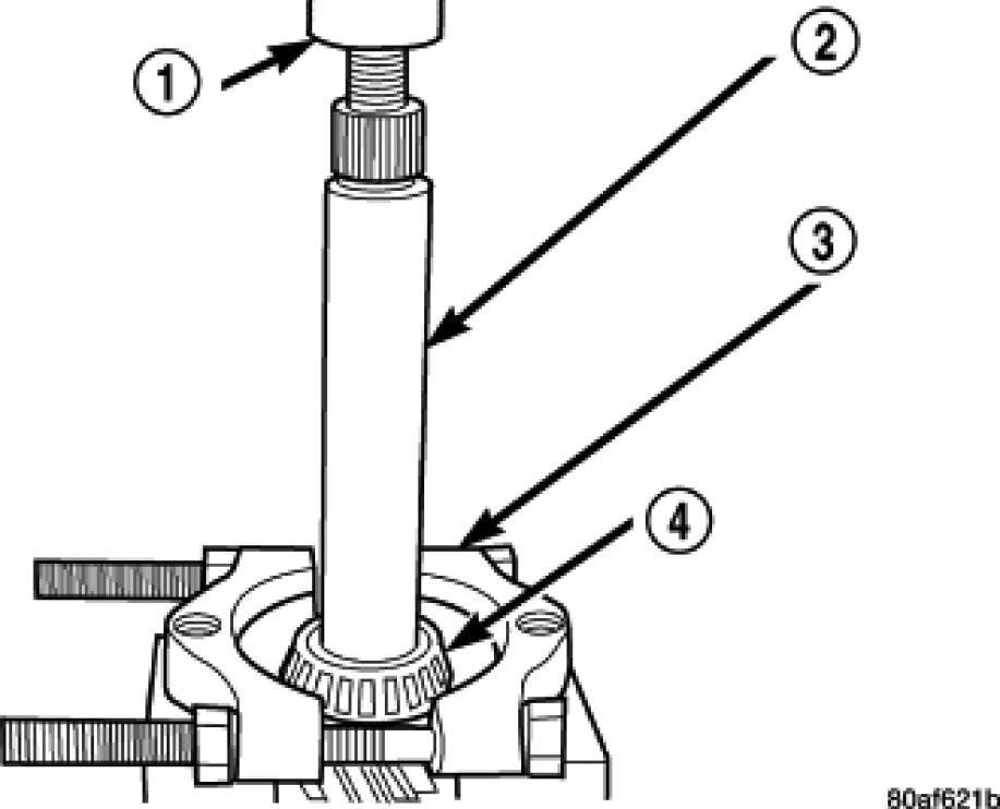
57. Using Gear Puller L-4407A (4), and Button 6055 (2), remove output gear (1) from shaft.




58. Remove output gear bearing shim (select) (2).




59. Using Puller Set 5048 with Jaws 5048-5 and Button L-4539-2 (1), remove output gear bearing cone.




60. Remove rear carrier assembly (1) from transaxle.




61. Remove rear carrier assembly (3) bearing cone using Puller Set 5048 with Jaws 5048-3 and Button 6055.




62. Assemble Low/reverse spring Disc 6057 (1), Compressor 5059 (2) and Bar 5058-3 (3).




63. Install low/reverse spring compressor Disc 6057 (1), Compressor 5059 (2) and Bar 5058-3 (3).




64. Compress low/reverse piston return spring and remove snap ring (1).




65. Remove low/reverse Spring Compressor 5059 and low reverse piston return spring (1).




66. Using a suitable punch, drive out park guide bracket pivot shaft (2) plug.




67. Using ordinary pliers, remove pivot shaft (3) and guide bracket assembly (2).




68. Inspect guide bracket (2) components for excessive wear and replace if necessary.




NOTE: The Low/Reverse Clutch Piston has bonded seals which are not individually serviceable. Seal replacement requires replacement of the piston assembly.

69. Remove low/reverse clutch piston (1).




70. Remove low/reverse piston retainer-to-case screws (3).




71. Remove low/reverse piston retainer (1).




72. Remove low/reverse piston retainer-to-case gasket (2).




73. Using a hammer (2) and suitable drift (3), drive out inner output bearing cup (1).




74. Using Remover 6062 (1), remove outer output bearing cup.