Curiosii for ever!: Car repair manuals for everyone.

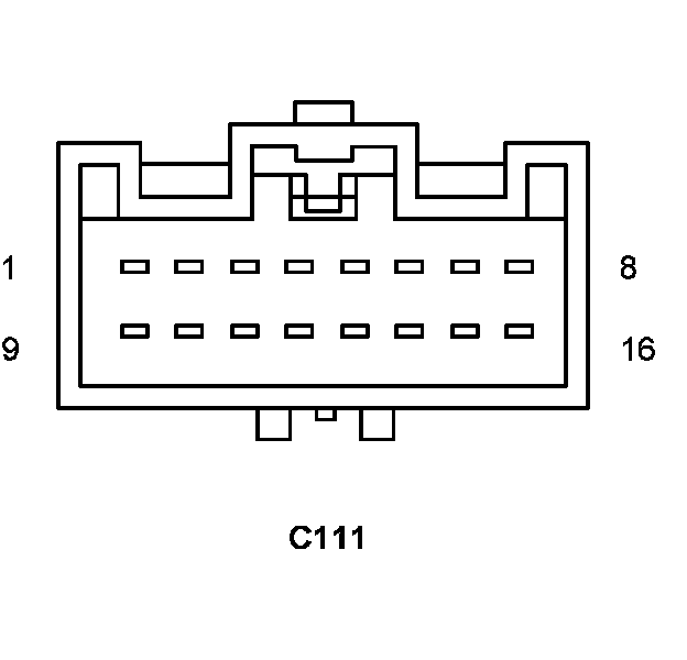
C111




Component ID: 36
Component : C111

Connector:
Name : C111
Color :
# of pins : 16
Gender : FEMALE




Pin Circuit Description
1 A418 20RD/LG FUSED B(+) (I.O.D.)
2 T26 20DG/OR CLUTCH UPSTOP SIGNAL
3 D64 20WT/LB CAN C BUS (-)
4 K852 20BR/VT 5 VOLT SUPPLY
4 F855 20PK/YL 5 VOLT SUPPLY
5 K854 20VT/BR 5 VOLT SUPPLY
5 F856 20YL/PK 5 VOLT SUPPLY
6 D96 20WT/LB SIREN SIGNAL CONTROL
7 T41 20YL/DB CLUTCH INTERLOCK SIGNAL
7 T141 20YL/OR CLUTCH INTERLOCK SIGNAL
8 A950 20RD/VT FUSED B(+)
8 A950 18RD/VT FUSED B(+)
9 - -
10 - -
11 D65 20WT/LG CAN C BUS (+)
12 - -
13 L239 20WT/DG REAR FOG LAMP CONTROL OUTPUT
14 F929 20PK/DB FUSED IGNITION SWITCH OUTPUT (RUN)
15 - -
16 F202 18PK/WT IGNITION SWITCH OUTPUT (RUN-START)

Component Location - 58






Connector:
Name : C111
Color :
# of pins : 16
Gender : MALE




Pin Circuit Description
1 A418 20RD/LG FUSED B(+) (I.O.D.)
2 T26 20DG/OR CLUTCH UPSTOP SIGNAL
3 D64 20WT/LB CAN C BUS (-)
4 F855 20PK/YL 5 VOLT SUPPLY
5 F856 20YL/PK 5 VOLT SUPPLY
6 D96 20WT/LB SIREN SIGNAL CONTROL
7 T41 20YL/DB CLUTCH INTERLOCK SIGNAL
7 T141 20YL/OR CLUTCH INTERLOCK SIGNAL
8 A950 18RD/VT FUSED B(+)
9 - -
10 - -
11 D65 20WT/BK CAN C BUS (+)
11 D65 20WT/LG CAN C BUS (+)
12 - -
13 L239 20WT/DG REAR FOG LAMP CONTROL OUTPUT
13 L239 20WT/DG REAR FOG LAMP CONTROL OUTPUT
14 F929 20PK/DB FUSED IGNITION SWITCH OUTPUT (RUN)
15 - -
16 F202 18PK/WT IGNITION SWITCH OUTPUT (RUN-START)

Component Location - 58