Curiosii for ever!: Car repair manuals for everyone.

Procedures







MASTER CYLINDER BLEEDING

NOTE: On vehicles without ABS this procedure is designed to be performed with the proportioning valves installed in the master cylinder.

1. Clamp the master cylinder in a vise with soft-jaw caps.




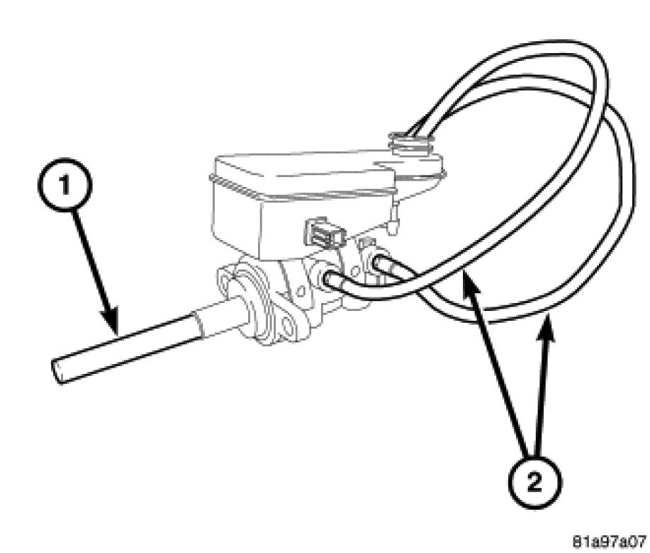
2. Master Cylinder without ABS - Attach the special tools for bleeding the master cylinder in the following fashion:
a. Thread a Bleeder Tube (3), Special Tool 8358-1, into each primary port. The bleeder tube for the rear brake will thread into the proportioning valve in the lower primary port. Tighten bleeder tube nuts to 17 Nm (150 in. lbs.).
b. Thread a Bleeder Tube (2), Special Tool 8358-2, into each secondary port. The bleeder tube for the rear brake will thread into the proportioning valve in the lower secondary port. Tighten bleeder tube nuts to 17 Nm (150 in. lbs.).
c. Flex each Bleeder Tube and place the open ends into the neck of the master cylinder reservoir. Position the open ends of the tubes into the reservoir so their outlets are below the surface of the brake fluid in the reservoir when filled.




3. Master Cylinder with ABS - Attach the special tools for bleeding the master cylinder in the following fashion:
a. Thread a Bleeder Tube (2), Special Tool 8358-1, into the primary and secondary ports. Tighten bleeder tube nuts to 17 Nm (150 in. lbs.).
b. Flex each Bleeder Tube and place the open ends into the neck of the master cylinder reservoir. Position the open ends of the tubes into the reservoir so their outlets are below the surface of the brake fluid in the reservoir when filled.

NOTE: Make sure the ends of the Bleeder Tubes stay below the surface of the brake fluid in the reservoir at all times during the bleeding procedure.

4. Fill the brake fluid reservoir with fresh Mopar(R) Brake Fluid DOT 3 Motor Vehicle, or equivalent.
5. Using an appropriately sized wooden dowel as a pushrod, slowly press the pistons inward discharging brake fluid through the Bleeder Tubes, then release the pressure, allowing the pistons to return to the released position. Repeat this several times until all air bubbles are expelled from the master cylinder bore and Bleeder Tubes.
6. Remove the Bleeder Tubes from the master cylinder and plug the master cylinder outlet ports.
7. Install the fill cap on the reservoir.
8. Remove the master cylinder from the vise.
9. Install the master cylinder on the vehicle. Master Cylinder - Installation