Curiosii for ever!: Car repair manuals for everyone.

Installation







INSTALLATION

1. Install crossmember on jack head in the same position in which it was removed and secure in place.
2. If necessary, install ABS wheel speed sensor routing clips in crossmember.

NOTE: Perform STEP 3 through STEP 17 on each side of rear crossmember.





3. Carefully place knuckle with links and parking brake cable attached as an assembly into mounting position on rear suspension crossmember (1).
4. Install bolt and nut (2) mounting camber link to crossmember. Do not tighten at this time.
5. Install bolt and nut (4) mounting tension link to crossmember. Do not tighten at this time.




6. Install bolt and nut (2) mounting compression link to crossmember (1).




7. Slide toe adjustment cam bolt (1) through rear crossmember from front and place cam washer over threads on rear. Place eccentric on head of bolt upward to 12 O'clock position. Install toe link over end of bolt and install nut.




8. While holding cam bolt from rotating, install nut (2) securing toe link to crossmember. Do not fully tighten at this time.




9. Install bolt and nut (4) fastening spring link (3) to crossmember. Do not tighten at this time.




10. Set current-side of rear suspension to curb height using the following tools:
a. Place Receiver, Special Tool 9031-3 (2), cup-side-down over top of crossmember rear mount bushing.
b. Place Curb Height Gage, Special Tool 9094, into shock absorber pocket in spring link and opposite end of tool over Receiver, Special Tool 9031-3.
c. Install bolt through crossmember rear mount bushing, Receiver, Special Tool 9031-3, and Curb Height Gage, Special Tool 9094. Install wing nut (1), hand tightening tools in place.
d. Move spring link up or down as necessary aligning lower shock bolt mounting hole with Curb Height Gage hole, then insert pin (4) through both.




11. Tighten camber link bolt (2) at crossmember to 68 Nm (50 ft. lbs.).




12. Tighten compression link bolt (2) at crossmember to 68 Nm (50 ft. lbs.).




13. Tighten spring link bolt (4) at crossmember to 129 Nm (95 ft. lbs.).




14. Tighten tension link bolt (4) at crossmember to 68 Nm (50 ft. lbs.).




15. Tighten toe link nut (2) at crossmember to 172 Nm (127 ft. lbs.).
16. Remove special tools.
17. Install end of parking brake cable into mounting hole in crossmember. Slide cable retainer on end of cable housing into hole until retainer fingers click into place.




18. Install stabilizer bar (2) with cushions and retainers on crossmember.
19. Install cushion retainer mounting bolts (1). Do not tighten at this time.
20. Install bolt and nut (3) fastening stabilizer bar to stabilizer link (4) at each side of crossmember. Do not tighten at this time.
21. Tighten cushion retainer mounting bolts (1) to 61 Nm (45 ft. lbs.).
22. Raise crossmember to body mounting points. As crossmember is raised, align shocks with pockets in spring links.




23. Continue to raise crossmember with jack until crossmember mounting bolts can be installed. Install left side crossmember mounting bolts (3 and 4), but not right side bolts. It is not necessary to tighten bolts at this point.

CAUTION: To avoid damaging other components of vehicle, do not lower crossmember any further than necessary to install coil spring.

24. Slowly lower jack allowing right side of crossmember to drop. Do not lower jack at a fast rate. Lower jack just enough to allow spring installation. Do not lower jack any further than necessary.




25. Install coil spring (4) and isolator (3), top end first.

NOTE: Verify that spring lower end coil is correctly placed against abutment built into spring link.

26. Carefully raise jack, guiding coil spring and lower end of shock absorber into mounted positions. Once shock absorber lower mounting hole lines up with hole in spring link (1), stop jacking.




27. Install lower shock mounting bolt (2). Do not tighten at this time.




28. Raise right side of crossmember into mounted position. Install right side crossmember mounting bolts (2 and 5). Do not fully tighten bolts at this time.
29. Remove both front and rear crossmember mounting bolts on left side of vehicle.

CAUTION: To avoid damaging other components of vehicle, do not lower crossmember any further than necessary to install coil spring.

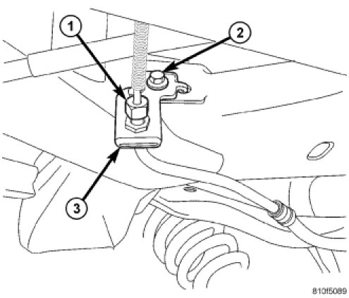
30. Slowly lower jack allowing left side of crossmember to drop. Do not lower jack at a fast rate. Lower jack just enough to allow spring installation. Do not lower jack any further than necessary.




31. Install coil spring (4) and isolator (3), top end first.

NOTE: Verify that spring lower end coil is correctly placed against abutment built into spring link.

32. Carefully raise jack, guiding coil spring and lower end of shock absorber into mounted positions. Once shock absorber lower mounting hole lines up with hole in spring link (1), stop jacking.




33. Install lower shock mounting bolt (2). Do not tighten at this time.




34. Raise left side of crossmember into mounted position and install previously removed mounting bolts. Do not fully tighten bolts at this time.




35. Shift crossmember as necessary to line up mounts with location marks drawn in before removal.



PLP Points

NOTE: If proper location marks are unavailable or as a check, the crossmember can be positioned utilizing the PLP points. Shift the crossmember as necessary to achieve the measured distances shown in the figure.

36. Once mounts are lined up with location marks, tighten all four crossmember mounting bolts to 163 Nm (120 ft. lbs.).
37. Tighten shock absorber lower mounting bolts to 102 Nm (75 ft. lbs.).
38. Remove jack from under crossmember.
39. If equipped with AWD, install rear driveline module and both rear half shafts. Installation




40. Install bolt (2) mounting right rear brake hose routing bracket to front of rear crossmember.
41. Install screw mounting left rear brake hose routing bracket to front of rear crossmember.




42. While holding cable connector on end of front cable secure with a pair of pliers at the front cable button. Place right rear cable button (4) into cable connector. Release cables allowing button to seat. It may take some hand pressure to completely seat button.
43. Place left rear parking brake cable button into equalizer. Release cables allowing button to seat. It may take some hand pressure to completely seat button.
44. Install rear half of exhaust system.
45. Install both hub and bearings with wheel speed sensors as well as all components necessary to access them. Rear Hub / Bearing - Installation
46. Install tire and wheel assemblies Tires and Wheels - Installation. Tighten wheel mounting nuts to 135 Nm (100 ft. lbs.).
47. Lower vehicle.
48. Unlock automatic adjuster in parking brake lever. Service and Repair
49. Connect battery negative cable to battery post.
50. Install spare tire under vehicle.
51. Position vehicle on alignment rack/drive-on hoist. Raise vehicle as necessary to access mounting bolts.




52. Tighten stabilizer link fasteners (3) to 61 Nm (45 ft. lbs.).
53. Perform wheel alignment. Service and Repair