Curiosii for ever!: Car repair manuals for everyone.

Operation







OPERATION

ELECTRICAL CONTROL UNIT





Signals from the transmission control module (TCM) are converted into hydraulic functions in the electric valve control unit (7). The RPM sensors (1, 12), starter interlock contact (9), and transmission oil temperature sensor (8) of the electric valve control unit (7) supply the TCM with input signals. The solenoid valves are controlled by the TCM and trigger the hydraulic functions.

HYDRAULIC CONTROL UNIT

Working Pressure Regulating Valve (Line Pressure or Operating Pressure)





The working pressure (p-A) is regulated at the working pressure regulating valve (4) in relation to load (modulating pressure, p-Mod) and gear (K1 or K2 pressure) (1). The spring in the working pressure regulating valve sets a minimum pressure level (basic pressure).

Torque Converter Lockup Clutch Regulating Valve









The torque converter lockup clutch regulating valve (6) regulates the torque converter lock-up clutch working pressure (p-TCC) in relation to the torque converter clutch control pressure (p-S/TCC). According to the size of the working pressure (p-A), the torque converter lockup clutch is either Engaged, Disengaged, or Slipping. When the regulating valve (6) is in the lower position, lubricating oil flows through the torque converter and oil cooler (7) into the transmission (torque converter lockup clutch unpressurized). In its regulating position (slipping, torque converter lockup clutch pressurized), a reduced volume of lubricating oil flows through the annular passage bypassing the torque converter and passing direct through the oil cooler into the transmission. The rest of the lubricating oil is directed via the throttle "a" into the torque converter in order to cool the torque converter lockup clutch.

Overlap Regulating Valve









During the shift phase the pressure in the deactivating shift actuator is regulated in relation to the engine load (modulating pressure, p-Mod) and the pressure in the activating actuator. The regulated pressure is inversely proportional to the transfer capacity of the activating shift actuator (regulated overlap).

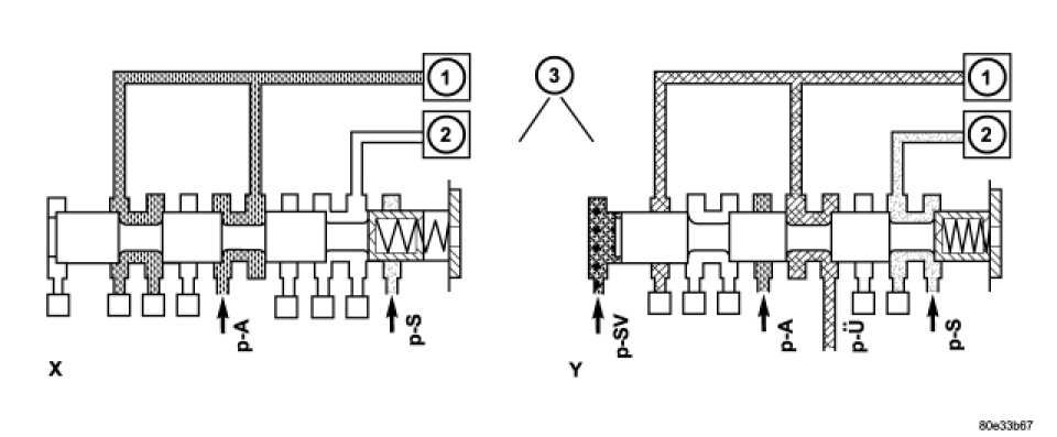
Command Valve




Command Valve





When the end face is unpressurized (stationary phase), the working pressure (p-A) is directed to the actuated shift element. If the end face of the command valve is subjected to the shift valve pressure (p-SV) (shift phase), then the shift pressure (p-S) is switched to the activating element and the overlap pressure (p-U) is switched to the deactivating element.

Shift Valve Holding Pressure




Shift Valve Holding Pressure





The holding pressure shift valve (1) is actuated by the pressures present at the end face in the actuators and a spring. It assigns the working pressure (p-A) to the actuator with the higher pressure (taking into account the spring force and the effective surface area). The other element of the shift group is then unpressurized. The valve switches over only during the shift phase and only at a certain pressure ratio between the overlap pressure (p-U) and the shift pressure (p-S).

Shift Pressure Shift Valve




Shift Pressure Shift Valve





When the multiple-disc brake B1 (3) is activated, the working pressure (p-A) is applied to the end face of the 1-2 / 4-5 shift pressure shift valve (4) via the command valve (1). Its shift state is maintained during the shift phase by substituting the shift element pressure acting on its end face (and which is variable during the shift phase) with a corresponding constant pressure. When the multi-plate clutch K1 (2) is activated, the end face of the shift valve is unpressurized during the stationary and shift phases, so the shift state is maintained during the shift phase in this case too.

Lubrication Pressure Regulating Valve





At the working pressure regulating valve surplus oil is diverted to the lubrication pressure regulating valve (1), from where the lubrication pressure (p-Sm) is used in regulated amounts to supply the transmission lubrication system including the torque converter.

Shift Pressure Regulating Valve





The shift pressure is determined by the shift pressure regulating solenoid valve and the shift pressure regulating valve (1). In addition, pressure from the clutch K2 is also present at the annular surface of the shift pressure regulating valve. This reduces the shift pressure in 2nd gear.

Regulating Valve Pressure Regulating Valve





The regulating valve pressure (p-RV) is set at the regulating valve pressure regulating valve (1) in relation to the working pressure (p-A) as far as the maximum pressure.

Shift Valve Pressure Regulating Valve





The non-constant regulating valve pressure (p-RV) is regulated to a constant shift valve pressure (p-SV) at the shift valve pressure regulating valve (1) and is used to supply the 1-2 and 4-5 / 3-4 / 2-3 solenoid valves and the torque converter lockup clutch PWM solenoid valve.