Curiosii for ever!: Car repair manuals for everyone.

Transmission Temperature Sensor







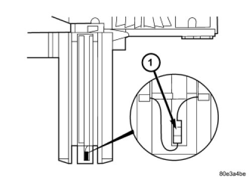
TRANSMISSION TEMPERATURE SENSOR





The temperature of the transmission oil has a considerable effect on the shifting time and therefore the shift quality. By measuring the oil temperature, shift operations can be optimized in all temperature ranges. The transmission oil temperature sensor (1) is switched in series with the park/neutral contact. The temperature signal is transferred to the TCM only when the dry-reed contact of the park/neutral contact is closed in REVERSE or a forward gear position.





Refer to the Transmission Temperature Sensor Specifications table for the relationship between transmission temperature, sensor voltage, and sensor resistance.