Curiosii for ever!: Car repair manuals for everyone.

Disassembly







DISASSEMBLY

NOTE: If the transmission is being reconditioned (clutch/seal replacement) or replaced, it is necessary to perform the Quick Learn Procedure using the scan tool .

NOTE: Tag all clutch pack assemblies, as they are removed, for reassembly identification.

CAUTION: Do not intermix clutch discs or plates as the unit might then fail.

Before disassembling transmission, move the shift lever clockwise as far as it will go and then remove the shift lever.





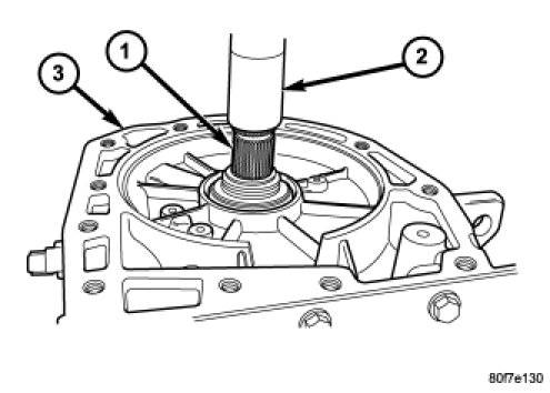
1. Remove the torque converter (1) from the transmission input shaft (3).




2. Measure input shaft end play using End Play Set 8266 (1, 2). Set up End Play Set 8266 and a dial indicator as shown.
3. Move input shaft in and out to obtain end play reading. End play specifications are 0.13 to 0.64 mm (0.005 to 0.025 inch). Record indicator reading for reference when reassembling the transmission. If endplay exceeds the specified range, the #4 thrust plate needs to be inspected and changed if necessary.




NOTE: It is not necessary to remove the output shaft flange to disassemble the transmission. Perform the following steps only if it necessary to replace a component in the extension housing assembly.

4. Place the transmission in PARK to prepare for the removal of the output shaft nut.
5. Remove the nut holding the propeller shaft flange to the output shaft and remove the flange.
6. Remove the transmission rear oil seal with a suitable slide hammer and screw.
7. Remove the transmission output shaft washer.
8. Remove the transmission rear output shaft bearing retaining ring (1).




9. Position Bearing Remover 9082 (1) over the inner race of the output shaft bearing (3).




NOTE: Due to production variations in the bearing, it may not be possible to slide the collar fully downward. It is only necessary to slide the collar down far enough that the fingers securely grasp the inner bearing race.

10. Slide the collar (3) on the Bearing Remover 9082 (1) downward over the fingers (4) of the tool.




11. Remove the output shaft bearing (3).
12. Remove the geartrain end-play shim from the output shaft. Be sure to tag the shim since it is very similar to the output shaft washer and they must not be interchanged.




NOTE: The four bolts (3) along the bottom of the extension housing (2) have a sealing patch applied from the factory. Note the locations of these bolts and separate these bolts for reuse.

13. Remove the bolts that hold the extension housing (2) onto the transmission case.




14. Remove the extension (2) housing from the transmission case. There are two pry slots located near the bottom corners of the housing for separating the housing from the transmission case.




15. Inspect the lube tube grommet (3) for damage. If the grommet lip is damaged, it will need to be replaced.




NOTE: The speed sensor bolts have a sealing patch applied from the factory. Separate these bolts for reuse.

16. Remove the input speed sensor bolt.




NOTE: The speed sensor bolts have a sealing patch applied from the factory. Separate these bolts for reuse.

17. Remove the output speed sensor bolt.




18. Remove the input and output (2) speed sensors. Identify the speed sensors for re-installation since they are not interchangeable.




NOTE: One of the oil pan bolts has a sealing patch applied from the factory. Separate this bolt for reuse.

19. Remove the transmission oil pan bolts (2).




20. Remove the transmission oil pan (1).




21. Remove the transmission oil filter screws (2).




22. Remove transmission oil filter (1).




23. Remove the oil filter o-ring (2) from the valve body.
24. If necessary, use a suitable tool to push the transmission fill tube grommet and extension from the transmission case from the bottom.




25. Remove valve body-to-case bolts (1).




CAUTION: Do not handle the valve body by the manual shaft. Damage could result.

26. Remove valve body (1) from transmission.




27. Remove underdrive and overdrive accumulators (1, 2).




28. Remove the low/reverse accumulator snap ring (1).




29. Remove the low/reverse accumulator plug (2).




30. Remove low/reverse accumulator piston (1) using suitable pliers.




31. Remove piston (1) and springs (2).




32. Remove and discard the oil pump-to-case bolts (1). The oil pump bolts are not to be reused.




33. Remove oil pump using C-3752 Pullers (2).




34. Remove oil pump while pushing in on input shaft (1).




35. Remove oil pump gasket (2).




CAUTION: By-pass valve must be replaced if transmission failure occurs.

36. Remove the cooler by-pass valve (1).




37. Remove the #1 caged needle bearing (1).




38. Remove the input clutch assembly (1).




39. Remove the #4 thrust plate (2).




40. Remove the front sun gear assembly (1) and #4 thrust washer (if still in place).




41. Remove the front carrier/rear annulus (2) and #6 needle bearing (1).




42. Remove the rear sun gear (2) and #7 needle bearing (1).




NOTE: The number seven needle bearing (1) has three antireversal tabs and is common with the number five and number two position. The orientation should allow the bearing to seat flat against the rear sun gear. A small amount of petrolatum can be used to hold the bearing to the rear sun gear.





NOTE: Verify that Compressor Tool 5058A (1) is centered properly over the 2/4 clutch retainer (4) before compressing. If necessary, fasten the Compressor Tool 5058A bar to the bellhousing flange with any combination of locking pliers and bolts to center the tool properly.

43. Install and load Tool 5058A to remove the 2/4 clutch retainer snap ring (3).




NOTE: The 2/4 Clutch Piston has bonded seals which are not individually serviceable. Seal replacement requires replacement of the piston assembly.

44. Remove the 2/4 clutch retainer (1).




45. Remove the 2/4 clutch return spring (1).




46. Remove the 2/4 clutch pack (1, 2).




47. Remove the tapered snap ring (4).




48. Remove the low/reverse reaction plate (1).




49. Remove one (1) low/reverse clutch disc to facilitate snap ring removal.




50. Remove the low/reverse reaction plate snap ring (2).




51. Remove the low/reverse clutch pack (1, 2).




CAUTION: Failure to grind and open stakes (4) of the output shaft nut will result in thread damage to the shaft during nut removal.

WARNING: WEAR SAFETY GOGGLES WHILE GRINDING STAKE NUTS.





52. Using a die grinder or equivalent, grind the stakes in the shoulder of the shaft nut (2) as shown. Do not grind all the way through the nut and into the shaft. There are two stakes on each nut.




53. Using a small chisel (1), carefully open the stakes on nut (2).




54. Remove snap ring from output shaft.
55. Use Wrench 6497 (1) and 6498A (2) to remove the output shaft nut.




56. Remove the output shaft (1) from case (3) using a shop press (2).




57. Use Remover 6596 (2) with a shop press (1) to remove the front output shaft bearing cup.




58. Use Wrench 6597 (2) and handle C-4171 (1) and C-4171-2 to press the rear output shaft bearing cup rearward.




59. Remove the rear carrier front bearing cone (3).




60. Install and load compressor 5059A (4) as shown.




61. Remove the low/reverse Belleville spring snap ring (1).




62. Remove the low/reverse piston Belleville spring (1).




63. Remove the park sprag pivot retaining screw.
64. Drive out the anchor shaft using suitable punch (1).




65. Remove the guide bracket pivot pin (1). Inspect all components for wear and replace if necessary.




NOTE: The Low/Reverse Clutch Piston has bonded seals which are not individually serviceable. Seal replacement requires replacement of the piston assembly.

66. Remove the low/reverse clutch piston (1).
67. Remove the low/reverse piston retainer screws.




68. Remove low/reverse piston retainer (1).




69. Remove the low/reverse piston retainer gasket (2).