Curiosii for ever!
: Car repair manuals for everyone.
Home
>>
Chrysler
>>
2007
>>
Sebring Sedan L4-2.4L
>>
Repair and Diagnosis
>>
Transmission and Drivetrain
>>
Automatic Transmission/Transaxle
>>
Transmission Speed Sensor
>>
Service and Repair
>>
Speed Sensor - Input
>>
Removal
Removal
REMOVAL
1.
Disconnect battery negative cable.
2.
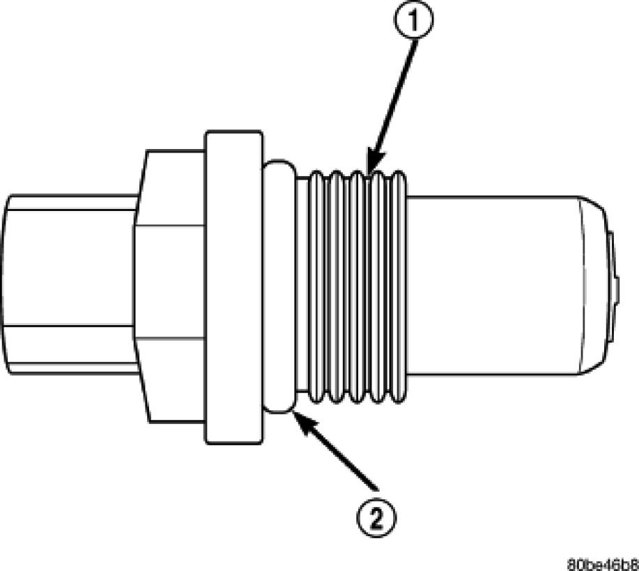
Disconnect input speed sensor connector (2).
3.
Unscrew and remove input speed sensor (1).
4.
Inspect speed sensor O-ring (2) and replace if necessary.