Curiosii for ever!: Car repair manuals for everyone.

Alternator: Service and Repair

GENERATOR

REMOVAL





1. Disconnect the negative battery cable.
2. Remove the right side air inlet tube.

CAUTION: The accessory drive belt tensioner pulley is spring loaded and can cause damage to hands and fingers if allowed to spring back.

3. Remove the accessory drive belt from the generator pulley.
- Pull the tensioning pulley in a counter clockwise direction.
- Lock the tensioning pulley with a pin or slowly release the pulley after the belt is free from the area.

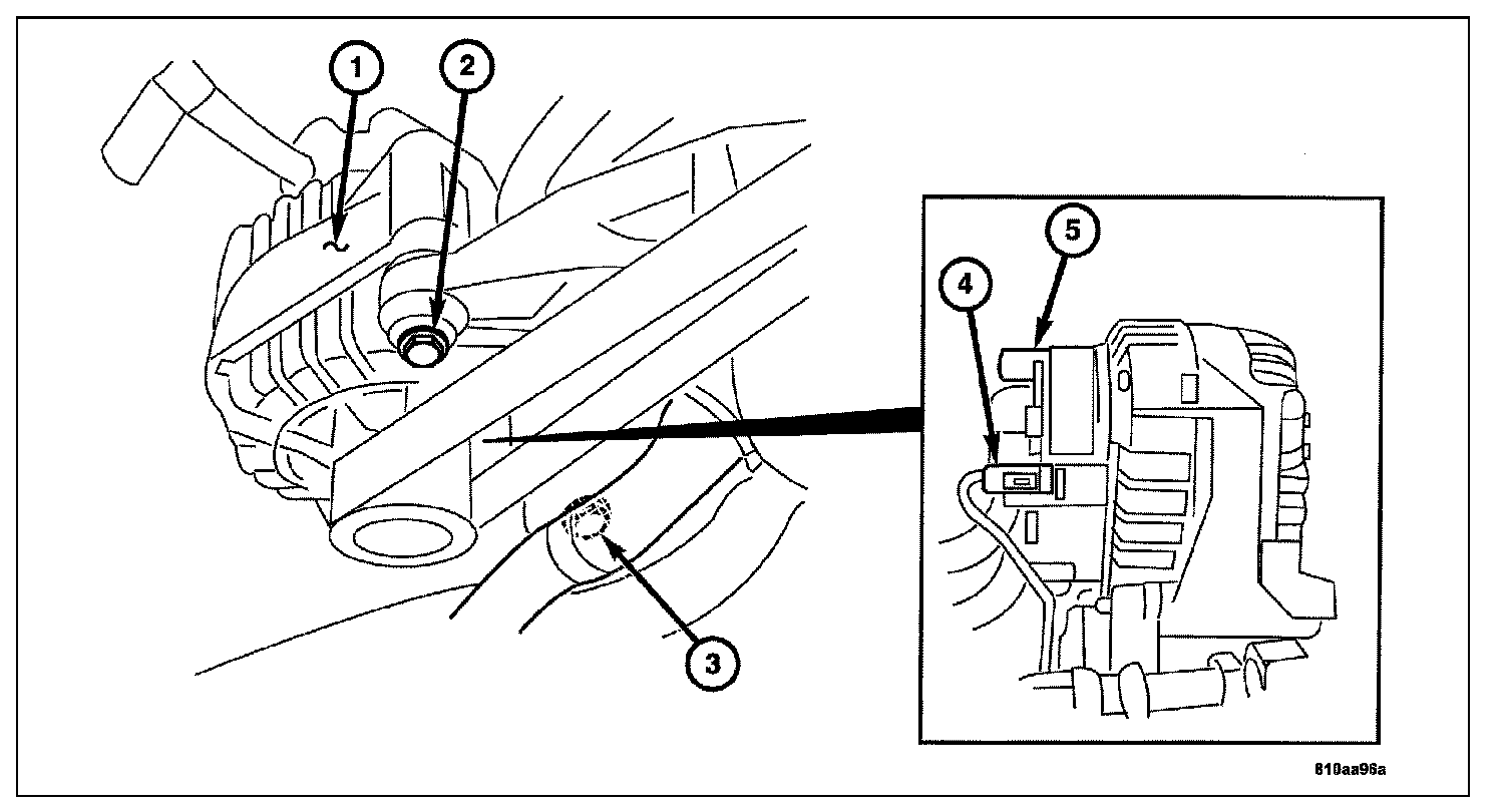
4. Remove the upper generator bolt (2).
5. Remove the lower generator bolt (3) and reposition the generator to access the generator harness connectors.
6. Remove the protective plastic cap from the generator B+ cable retaining nut (5).
7. Disconnect the generator B+ cable and the generator harness connectors (4) from the rear of the generator.
8. Remove the generator (1).

INSTALLATION





1. Connect the generator B+ cable with the retaining nut and connect the generator harness connector (4). Tighten the generator B+ cable retaining nut to 15 N.m (11 ft. lbs.).
2. Install the protective plastic cap on the generator B+ cable nut (5).
3. Install the generator (1) into the mounting bracket.
4. Install the upper and lower generator mounting bolts. Tighten the generator mounting bolts to 42 N.m (31 ft. lbs.).

CAUTION: Be sure to check proper installation on all pulleys.

5. Install the accessory drive belt.
6. Install the right side air inlet tube.
7. Connect the negative battery cable.