Curiosii for ever!: Car repair manuals for everyone.

Air Temperature Sensor ( Ambient / Intake ): Description and Operation

INTAKE AIR TEMPERATURE SENSOR

DESCRIPTION




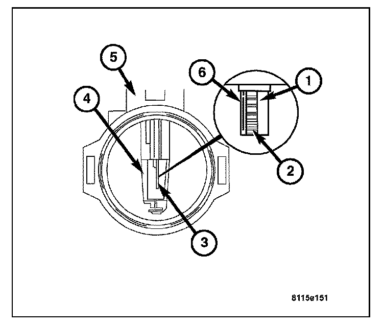
The Intake Air Temperature (IAT) Sensor (1,6,2) is integrated into the Mass Air Flow (MAF) Sensor. The IAT cannot be serviced separately. Refer to the MAF service procedures for removal.

The IAT senses the inlet air temperature to the engine. The IAT then sends a signal to the Powertrain Control Module.

OPERATION

The Intake Air Temperature (IAT) Sensor has a Negative Temperature Coefficient (NTC) integrated into the IAT. The IAT alters its electrical resistance in line with the intake air temperature. When the temperature increases, the resistance reading drops. As the temperature drops the resistance increases. The IAT sends this resistance reading to the PCM to help calculate the amount of fuel that is needed. The IAT is integrated into the Mass Air Flow (MAF) Sensor and cannot be serviced individually. Refer to the MAF service procedures for removal and installation of the IAT/MAF.