Curiosii for ever!: Car repair manuals for everyone.

Inspection Procedure 3

INSPECTION PROCEDURE 3: The Malfunction Indicator Lamp (SERVICE ENGINE SOON) Does No Illuminate Right after the Ignition Switch Is Turned to the "ON" Position.

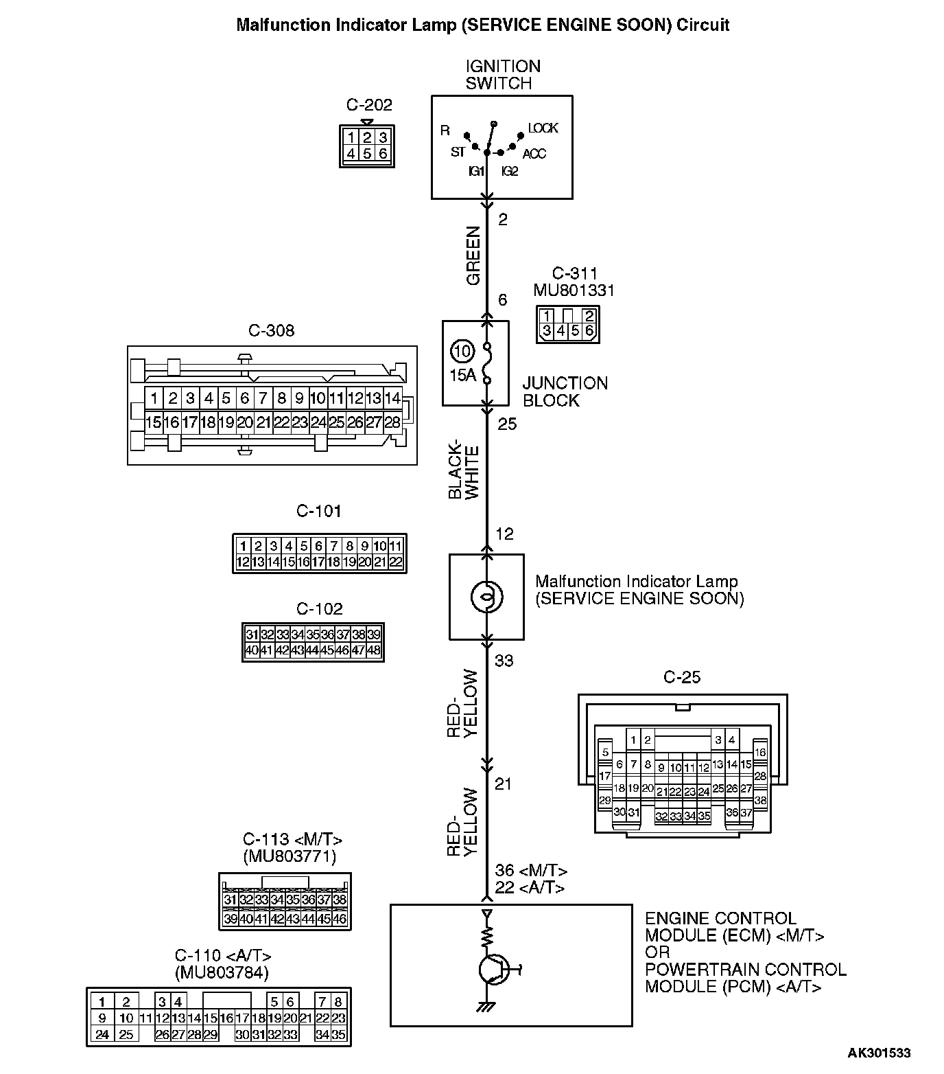
Malfunction Indicator Lamp (Service Engine Soon) Circuit:




Connectors:




CIRCUIT OPERATION
- The malfunction indicator lamp (SERVICE ENGINE SOON) power is supplied from the ignition switch.
- The ECM or PCM controls the ground of the malfunction indicator lamp (SERVICE ENGINE SOON) by turning the power transistor in the ECM or PCM ON and OFF.

COMMENT
- The ECM or PCM
causes the malfunction indicator lamp (SERVICE ENGINE SOON) to illuminate for 5 seconds immediately after the ignition switch is turned to the "ON" position occurred.

TROUBLESHOOTING HINTS (The most likely causes for this case: )
- Malfunction of the malfunction indicator lamp (SERVICE ENGINE SOON).
- Open or shorted malfunction indicator lamp (SERVICE ENGINE SOON) circuit.

DIAGNOSIS
Required Special Tool:
- MB991502: Scan Tool (MUT-II)




STEP 1. Using scan tool MB991502, check data list item 16: Power Supply Voltage.

CAUTION: To prevent damage to scan tool MB991502, always turn the ignition switch to the "LOCK" (OFF) position before. connecting or disconnecting scan tool MB991502.

1. Connect scan tool MB991502 to the data link connector.
2. Turn the ignition switch to the "ON" position.
3. Set scan tool MB991502 to the data reading mode for item 16, Power Supply Voltage.
- Voltage should be battery positive voltage.
4. Turn the ignition switch to the "LOCK" (OFF) position.

Q: Is battery positive voltage (approximately 12 volts) present?

YES: Go to Step 2.
NO: Refer to INSPECTION PROCEDURE 29 - Power - Supply System and Ignition Switch-IG System.

STEP 2. Check the burned-out bulb.

Q: Is the valve normal?

YES: Go to step 3.
NO: Replace the bulb. Then confirm that the malfunction symptom is eliminated.




STEP 3. Check connector C-101, C-102 at the combination meter for damage.

Q: Is the connector in good condition?

YES: Go to step 4.
NO: Repair or replace it. Refer to Harness Connector Inspection. Then confirm that the malfunction symptom is eliminated.







STEP 4. Measure the power supply voltage at combination meter harness side connector C-101.

1. Disconnect the connector C-101 and measure at the harness side.
2. Turn the ignition switch to the "ON" position.
3. Measure the voltage between terminal No. 12 and ground.
- Voltage should be battery positive voltage
4. Turn the ignition switch to the "LOCK" (OFF) position.

Q: Is battery positive voltage (approximately 12 volts) present?

YES: Go to Step 5.
NO: Check harness connectors C-308 and C-311 at intermediate connector for damage, and repair or replace as required. Refer to Harness Connector Inspection. If intermediate connectors are in good condition, repair harness wire between ignition switch connector C-202 (terminal No. 2) and combination meter connector C-101 (terminal No. 12) because of open circuit. Then confirm that the malfunction symptom is eliminated.







STEP 5. Check connector C-113 at ECM or connector C-110 at PCM for damage.

Q: Is the connector in good condition?

YES: Go to Step 6.
NO: Repair or replace it. Refer to Harness Connector Inspection. Then confirm that the malfunction symptom is eliminated.













STEP 6. Measure the power supply voltage ECM connector C-113 or PCM connector C-110
.

1. Disconnect the connector C-111 or C-112
and measure at the harness side.
2. Turn the
ignition switch to the "ON" position.
3. Measure the voltage between terminal No. 36 or No. 22 and ground.
- Voltage should be battery positive voltage.
4. Turn the
ignition switch to the "LOCK" (OFF) position.

Q: Is battery positive voltage (approximately 12 volts) present?

YES: Replace the ECM or PCM. Then confirm that the malfunction symptom is eliminated.
NO: Check harness connectors C-25 at intermediate connector for damage, and repair or replace as required. Refer to Harness Connector Inspection. If intermediate connectors is in good condition, repair harness wire between combination meter connector C-102 (terminal No. 33) and ECM connector C-113 (terminal No. 36) or PCM connector C-110 (terminal No. 22) because of open circuit. Then confirm that the malfunction symptom is eliminated.