Curiosii for ever!: Car repair manuals for everyone.

Timing Chain Guide: Service and Repair

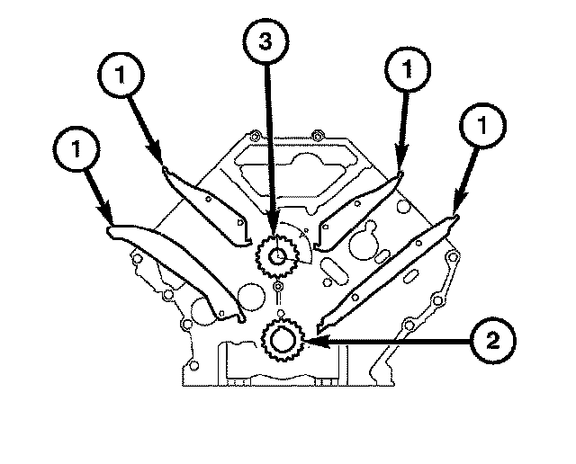
TIMING CHAIN GUIDES
REMOVAL





1. Remove the timing chain (1).





2. Remove the timing chain guides (1) off of the mounting pins. Inspect and replace worn or damaged guides as required.

INSTALLATION
1. Install the timing chain guides on the mounting pins. Lubricate surface with engine oil.
2. Install the timing chain.