Curiosii for ever!: Car repair manuals for everyone.

Connecting Rod: Service and Repair

PISTON AND CONNECTING ROD
REMOVAL
1. Remove the timing chain.





2. Mark the connecting rods and rod caps (1) for reassembly.
3. Mark the pistons facing direction if arrows are not visible.





4. Remove the connecting rod bolts (1) and the connecting rod caps.





5. Remove the pistons and connecting rods from top of the engine.





6. Perform work on a suitable surface to prevent dam age to parts.
7. Keep the piston pins matched to the pistons.
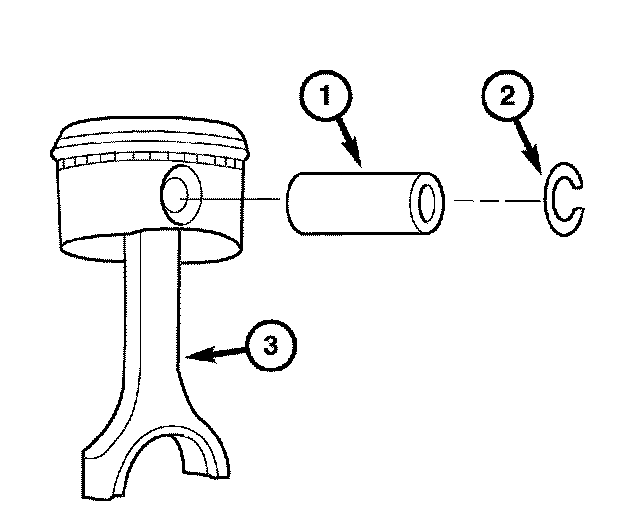
8. Remove the snap rings from the pistons (2).
9. Press out the piston pins (1).
10. Remove the piston from the connecting rod (3).
11. Inspect all parts to be reused for damage. Replace as required.

INSPECTION
CONNECTING ROD
1. Check the connecting rods for any twisting or bending.
2. Check the condition of the large end. Use an oil stone to remove any nicks and burrs.
3. Check the condition of the pin bore in the small end of the connecting rod. Use an oil stone to remove all nicks and burrs.

PISTON PIN
1. Inspect for free rotation of the wrist pin in the piston.

PISTON





1. Inspect all piston surfaces for nicks and scuffs.
2. Inspect piston and ring grooves for wear.

INSTALLATION





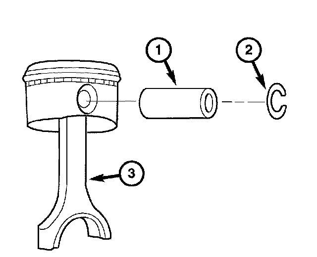
1. Fit the piston onto the connecting rod (3).
2. Press in the piston pin (1).
3. Install the snap rings (2).
4. Replace the piston rings as required.





5. Load the piston/connecting rod assembly (1) into a ring compressor (2) with light oil lubrication.





6. Drive the piston into the cylinder using a wooden drift and a mallet.





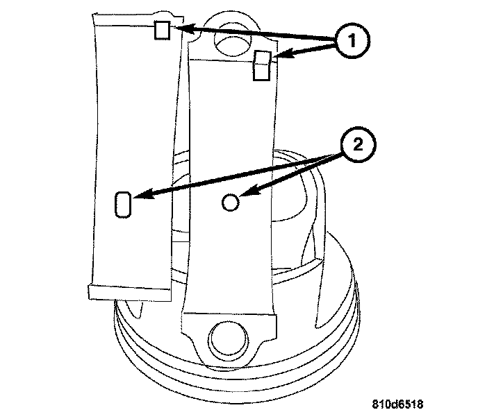
Note: The connecting rod bearing shell with the oil drilling (2) must be installed in the connecting rod, otherwise the connecting rod bearings will not be lubricated. The anti-twist locks of the connecting rod bearing shells must be located in the slots (1) of the connecting rods and the connecting rod bearing caps.





7. Align the connecting rod caps with the marks (1).
8. Install the connecting rod bolts.
9. Tighten the connecting rod bolts in three stages.
Stage one, 5 Nm (44 inch lbs.)
Stage two, 25 Nm (18 ft. lbs.)
Stage three, rotate bolts 90° clockwise.
10. Test the engine for ease of rotation.
11. Install the timing chain.