Curiosii for ever!: Car repair manuals for everyone.

Inspection Procedure 4

INSPECTION PROCEDURE 4: The Malfunction Indicator Lamp (Service Engine Soon or Check Engine Lamp) Remains Illuminated and Never Goes Out.

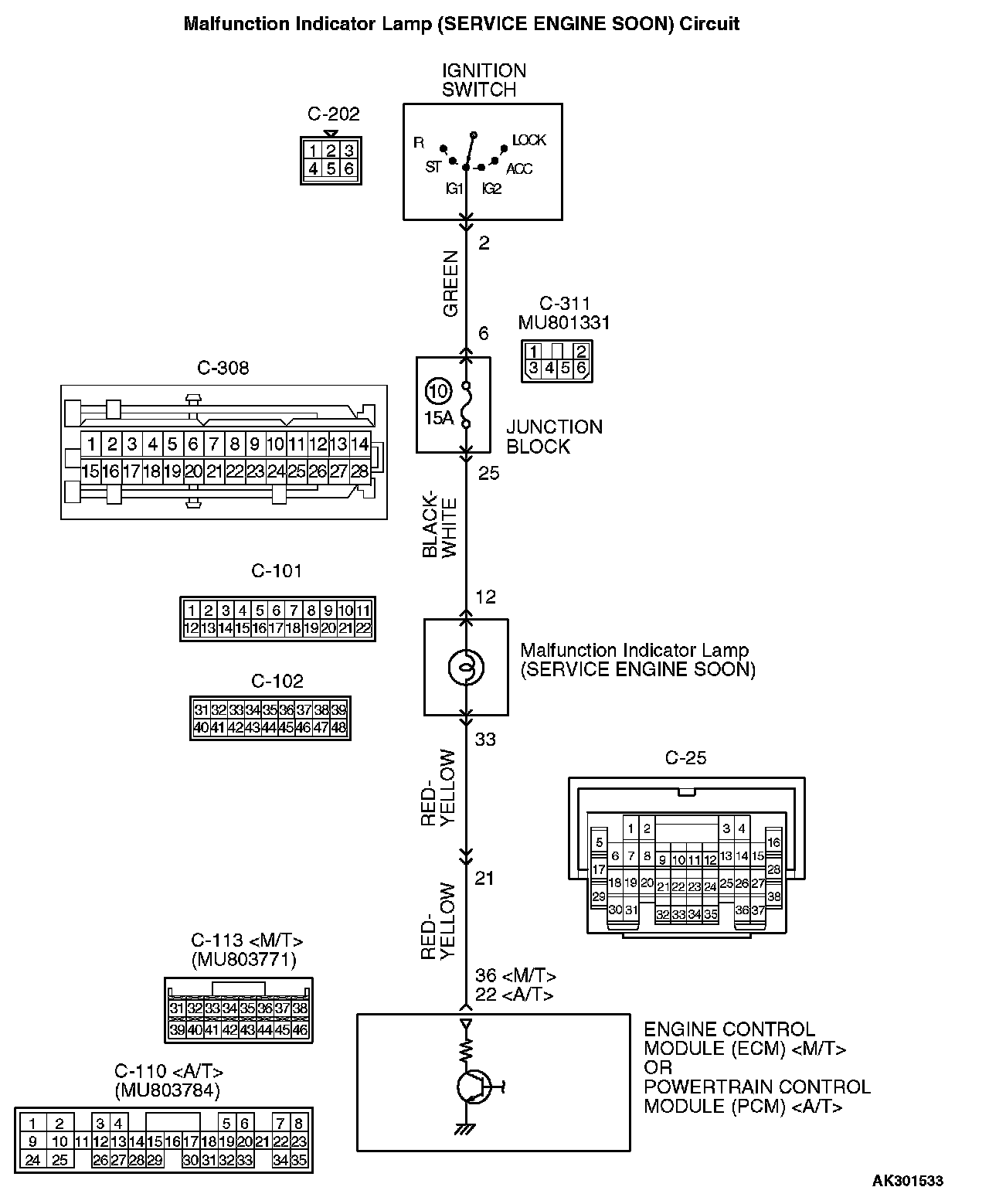
Malfunction Indicator Lamp (Service Engine Soon) Circuit:




Connectors:






CIRCUIT OPERATION
- The malfunction indicator lamp (SERVICE ENGINE SOON) power is supplied from the ignition switch.
- The ECM or PCM controls the ground of the malfunction indicator lamp (SERVICE ENGINE SOON) by turning the power transistor in the ECM or PCM ON and OFF.

COMMENT
- In cases such as the above, the cause is probably that the ECM or PCM
is detecting a problem in a sensor or actuator, or that one of the malfunctions listed at right has probably occurred.

TROUBLESHOOTING HINTS (The most likely causes for this case:)
- Shorted the
malfunction indicator lamp (SERVICE ENGINE SOON) circuit.

DIAGNOSIS

Required Special Tool:
- MB991502:Scan Tool (MUT-II)




STEP 1. Using scan tool MB991502, read the diagnostic trouble code (DTC).

CAUTION: To prevent damage to scan tool MB991502, always turn the ignition switch to the "LOCK" (OFF) position before connecting or disconnecting scan tool MB991502.

1. Connect scan tool MB991502 to the data link connector.
2. Turn the ignition switch to the "ON" position.
3. Read the DTC.
4. Turn the ignition switch to the "LOCK" (OFF) position.

Q: Is DTC set?

YES: Refer to Diagnostic Trouble Code Chart.
NO: Go to Step 2.




STEP 2. Check for continuity at combination meter harness side connector C-102.

1. Disconnect the connector C-102 and measure at the harness side.




2. Check for the continuity between terminal No.33 and ground.
- Should be open loop.

Q: Does continuity exist?

YES: Replace the ECM or PCM. Then confirm that the malfunction symptom is eliminated.
NO: Check harness connectors C-25 at the intermediate connector for damage, and repair or replace as required. Refer to Harness Connector Inspection. If intermediate connectors is in good condition, repair harness wire between combination meter connector C-102 (terminal No.33) and ECM connector C-113 (terminal No.36) or PCM connector C-110 (terminal No.22) because of short circuit to ground. Then confirm that the malfunction symptom is eliminated.