Curiosii for ever!: Car repair manuals for everyone.

Ignition Switch Lock Cylinder: Service and Repair

KEY/LOCK CYLINDER

REMOVAL

Note: If the lock cylinder/key is notched or jamming, spray the lock cylinder with lock cylinder grease. If it is not possible to eliminate the complaint, replace the lock cylinder and key.





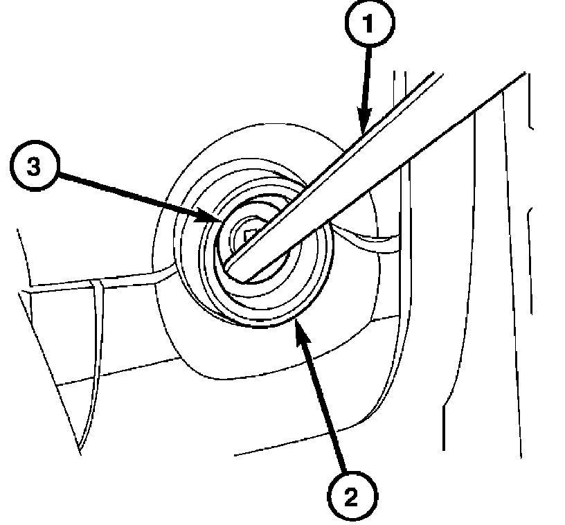
1. Press out the escutcheon (2) with a suitable tool.





2. Pull the transponder coil (3) off the lock cylinder (2) with a plastic wedge (1).
3. Push the sleeve onto the cap and turn the lock cylinder to position "1" with the key.





4. Unlock the lock cylinder (1) by turning the cap counterclockwise through 90° and then remove.

INSTALLATION
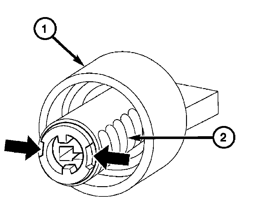
1. Spray the outside of the lock cylinder (1) with lock cylinder grease and insert it into the cap.





2. Push the key through the cap as far as the stop in the lock cylinder (1).
3. Turn the cap clockwise approximately 90° until it can be felt or heard "lock" into position.





4. Turn the key to position "O".
5. Press in the escutcheon (2).





6. Install the transponder coil (3) on the lock cylinder.