Curiosii for ever!: Car repair manuals for everyone.

Condenser HVAC: Service and Repair




REMOVAL




CAUTION: Before removing the condenser, note the location of each of the radiator and condenser air seals. These seals are used to direct air through the condenser and radiator. The air seals must be reinstalled in their proper locations in order for the air conditioning and engine cooling systems to perform as designed.
1. Disconnect the negative battery cable.
2. Evacuate the refrigerant from the A/C system.

WARNING: OPEN THE COOLING SYSTEM ONLY WHEN THE COOLANT TEMPERATURE IS BELOW 90° C. OPEN THE CAP SLOWLY AND REDUCE THE PRESSURE. WEAR PROTECTIVE GLOVES, PROTECTIVE CLOTHING AND PROTECTIVE GOGGLES.

3. Relieve pressure in cooling system by turning the radiator cap on the reservoir to catch "1".
4. Remove the radiator fan.
5. Remove the coolant reservoir (1).




6. Remove the refrigerant lines (1) from the condenser.




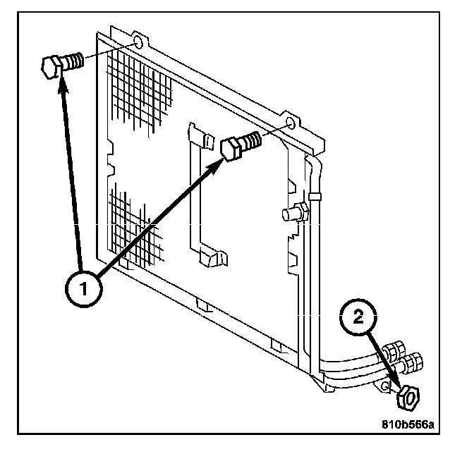
7. Loosen the mount for the condenser connection fittings (1-2).
8. Tilt the radiator forward and remove the condenser.

INSTALLATION




1. Install the condenser.
2. Tighten the mount for the condenser connection fittings (1-2).




3. Install the refrigerant lines (1) to the condenser. Tighten to 24 Nm (18 ft. lbs.).




4. Install the radiator.
5. Install the lower radiator hose to the radiator.




6. Install the upper radiator hose (1) to the radiator.




7. Install the radiator fan (1).




8. Install the coolant reservoir (1).
9. Fill the coolant.
10. Charge the refrigerant in the refrigerant system.
11. Connect the negative battery cable.