Curiosii for ever!: Car repair manuals for everyone.

Starting System: Description and Operation

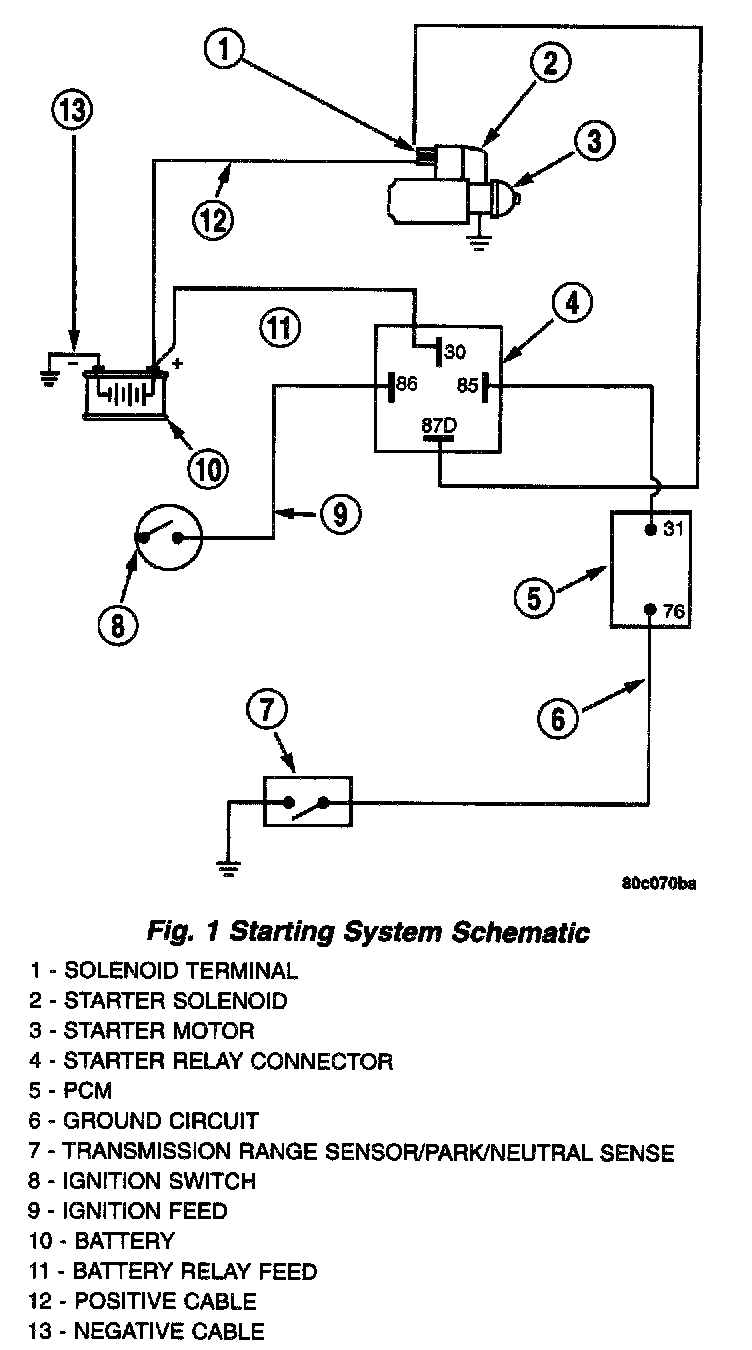
Fig.1 Starting System Schematic:




STARTING
The starting system has (Fig. 1):
- Ignition switch
- Starter relay
- Transmission Range Sensor or Park/Neutral Switch
- Wiring harness
- Battery
- Starter motor with an integral solenoid
- Powertrain Control Module (PCM)

These components form two separate circuits. A high amperage circuit that feeds the starter motor up to 300+ amps, and a control circuit that operates on less than 20 amps.

The PCM controls a double start over-ride safety that does not allow the starter to be engaged if the engine is already running.

STARTER MOTOR RELAY
The Starter Relay is a micro relay located in the Power Distribution Center (PDC), positioned in the left front corner of the engine compartment.

As battery power is applied to the relay from the ignition switch, battery power is applied to the starter motor through the relay to the starter solenoid.

STARTER SOLENOID
The Starter Solenoid is a switching device used to activate the high amperage starter motor circuit from a low amperage control circuit.