Curiosii for ever!: Car repair manuals for everyone.

Leak Detection Pump (LDP) Operation and Diagnosis

Leak Detection Pump (LDP) Operation And Diagnosis

THE GENERAL PRINCIPLES DISCUSSED IN THIS DOCUMENT CAN BE USED ON EARLIER MODEL YEAR VEHICLES.

This bulletin describes the theory of operation for the leak detection system. In addition, information is provided for each of the Diagnostic Trouble Codes (DTC's) as follows:

P0442-EVAP LEAK MONITOR 0.040" LEAK DETECTED
P0455-EVAP LEAK MONITOR LARGE LEAK DETECTED
P0456-EVAP LEAK MONITOR 0.020" LEAK DETECTED
P1486-EVAP LEAK MONITOR PINCHED HOSE FOUND
P1494-LEAK DETECTION PUMP SW OR MECHANICAL FAULT
P1495-LEAK DETECTION PUMP SOLENOID CIRCUIT

INTRODUCTION

The evaporative emission system is designed to prevent the escape of fuel vapors from the fuel system. Leaks in the system, even small ones, can allow fuel vapors to escape into the atmosphere. Government regulations require onboard testing to make sure that the evaporative (EVAP) system is functioning properly. The leak detection system tests for EVAP system leaks and blockage. It also performs self-diagnostics.

During self-diagnostics, the Powertrain Control Module (PCM) first checks the Leak Detection Pump (LDP) for electrical and mechanical faults. If the first checks pass, the PCM then uses the LDP to seal the vent valve and pump air into the system to pressurize it. If a leak is present, the PCM will continue pumping the LDP to replace the air that leaks out. The PCM determines the size of the leak based on how fast/long it must pump the LDP as it tries to maintain pressure in the system.





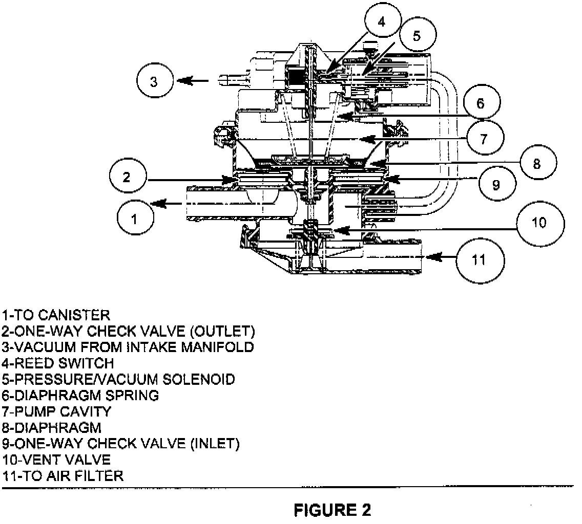
EVAP LEAK DETECTION SYSTEM COMPONENTS (FIGURE 1)

Service Port: Used with special tools like the Miller Evaporative Emissions Leak Detector (EELD) to test for leaks in the system.

EVAP Purge Solenoid: The PCM uses the EVAP purge solenoid to control purging of excess fuel vapors stored in the EVAP canister. It remains closed during leak testing to prevent loss of pressure.

EVAP Canister: The EVAP canister stores fuel vapors from the fuel tank for purging. EVAP Purge Orifice: Limits purge volume.

EVAP System Air Filter: Provides air to the LDP for pressurizing the system. It filters out dirt while allowing a vent to atmosphere for the EVAP system.

Leak Detection Pump (LDP) Components:
The main purpose of the LDP is to pressurize the fuel system for leak checking. It closes the EVAP system vent to atmospheric pressure so the system can be pressurized for leak testing. The diaphragm is powered by engine vacuum. it pumps air into the EVAP system to develop a pressure of about 7.5" H20 (1/4) psi. A reed switch in the LDP allows the PCM to monitor the position of the LDP diaphragm. The PCM uses the reed switch input to monitor how fast the LDP is pumping air into the EVAP system. This allows detection of leaks and blockage.





The LDP assembly consists of several parts (Figure 2). The solenoid is controlled by the PCM, and it connects the upper pump cavity to either engine vacuum or atmospheric pressure. A vent valve closes the EVAP system to atmosphere, sealing the system during leak testing. The pump section of the LDP consists of a diaphragm that moves up and down to bring air in through the air filter and inlet check valve, and pump it out through an outlet check valve into the EVAP system.

The diaphragm is pulled up by engine vacuum, and pushed down by spring pressure, as the LDP solenoid turns on and off. The LDP also has a magnetic reed switch to signal diaphragm position to the PCM. When the diaphragm is down, the switch is closed, which sends a 12 V (system voltage) signal to the PCM. When the diaphragm is up, the switch is open, and there is no voltage sent to the PCM. This allows the PCM to monitor LDP pumping action as it turns the LDP solenoid on and off.

LDP AT REST (NOT POWERED)





When the LDP is at rest (no electrical/vacuum) the diaphragm is allowed to drop down if the internal (EVAP system) pressure is not greater than the return spring. The LDP solenoid blocks the engine vacuum port and opens the atmospheric pressure port connected through the EVAP system air filter. The vent valve is held open by the diaphragm. This allows the canister to see atmospheric pressure (Figure 3).

DIAPHRAGM UPWARD MOVEMENT





When the PCM energizes the LDP solenoid, the solenoid blocks the atmospheric port leading through the EVAP air filter and at the same time opens the engine vacuum port to the pump cavity above the diaphragm. The diaphragm moves upward when vacuum above the diaphragm exceeds spring force. This upward movement closes the vent valve. It also causes low pressure below the diaphragm, unseating the inlet check valve and allowing air in from the EVAP air filter. When the diaphragm completes its upward movement, the LDP reed switch turns from closed to open (Figure 4).

DIAPHRAGM DOWNWARD MOVEMENT





Based on reed switch input, the PCM de-energizes the LDP solenoid, causing it to block the vacuum port, and open the atmospheric port. This connects the upper pump cavity to atmosphere through the EVAP air filter. The spring is now able to push the diaphragm down. The downward movement of the diaphragm closes the inlet check valve and opens the outlet check valve pumping air into the evaporative system. The LDP reed switch turns from open to closed, allowing the PCM to monitor LDP pumping (diaphragm up/down) activity (Figure 5). During the pumping mode, the diaphragm will not move down far enough to open the vent valve.

The pumping cycle is repeated as the solenoid is turned on and off. When the evaporative system begins to pressurize, the pressure on the bottom of the diaphragm will begin to oppose the spring pressure, slowing the pumping action. The PCM watches the time from when the solenoid is de-energized, until the diaphragm drops down far enough for the reed switch to change from opened to closed. If the reed switch changes too quickly, a leak may be indicated. The longer it takes the reed switch to change state, the tighter the evaporative system is sealed. If the system pressurizes too quickly, a restriction somewhere in the EVAP system may be indicated.

PUMPING ACTION
During portions of this test, the PCM uses the reed switch to monitor diaphragm movement. The solenoid is only turned on by the PCM after the reed switch changes from open to closed, indicating that the diaphragm has moved down. At other times during the test, the PCM will rapidly cycle the LDP solenoid on and off to quickly pressurize the system. During rapid cycling, the diaphragm will not move enough to change the reed switch state. In the state of rapid cycling, the PCM will use a fixed time interval to cycle the solenoid.





If the system does not pass the EVAP Leak Detection Test, the following DTCs may be set:

P0442 - EVAP LEAK MONITOR 0.040" LEAK DETECTED
P0455 - EVAP LEAK MONITOR LARGE LEAK DETECTED
P0456 - EVAP LEAK MONITOR 0.020" LEAK DETECTED
P1486 - EVAP LEAK MON PINCHED HOSE FOUND
P1494 - LEAK DETECTION PUMP SW OR MECH FAULT
P1495 - LEAK DETECTION PUMP SOLENOID CIRCUIT

ENABLING CONDITIONS TO RUN EVAP LEAK DETECTION TEST

1. Cold start: with ambient temperature (obtained from modeling the inlet air temperature sensor on passenger vehicles and the battery temperature sensor on Jeep & truck vehicles) between 4° C (40° F) and 32° C (90° F) for 0.040 leak. Between 4° C (40° F) and 29° C (85° F) for 0.020 leak.

2. Engine coolant temperature within:-12° to -8°C (10° to 18°F) of battery/ambient.

3. Battery voltage between 10 and 15 volts.

NOTE:
IF BATTERY VOLTAGE DROPS BELOW 10 VOLTS FOR MORE THAN 5 SECONDS DURING ENGINE CRANKING, THE EVAP LEAK DETECTION TEST WELL NOT RUN.

4. Low fuel warning light off (fuel level must be between 15% and 85% for 0.040 leak and 30% and 85% for 0.020 leak).

5. MAP sensor reading 22 in Hg or above (This is the manifold absolute pressure, not vacuum).

6. No engine stall during test.

NOTE:
THE FOLLOWING VALUES ARE APPROXIMATE AND VEHICLE SPECIFIC. USE THE VALUES SEEN IN PRE TEST/MONITOR TEST SCREEN ON THE DRB III(R). SEE TSB 25-02-98 FOR MORE DETAIL.





A DTC will not be set if a one-trip fault is set or if the MIL is illuminated for any of the listed items.