Curiosii for ever!
: Car repair manuals for everyone.
Home
>>
Chrysler
>>
2001
>>
Sebring Convertible V6-2.7L VIN U
>>
Repair and Diagnosis
>>
Power and Ground Distribution
>>
Fuse Block
>>
Application and ID
>>
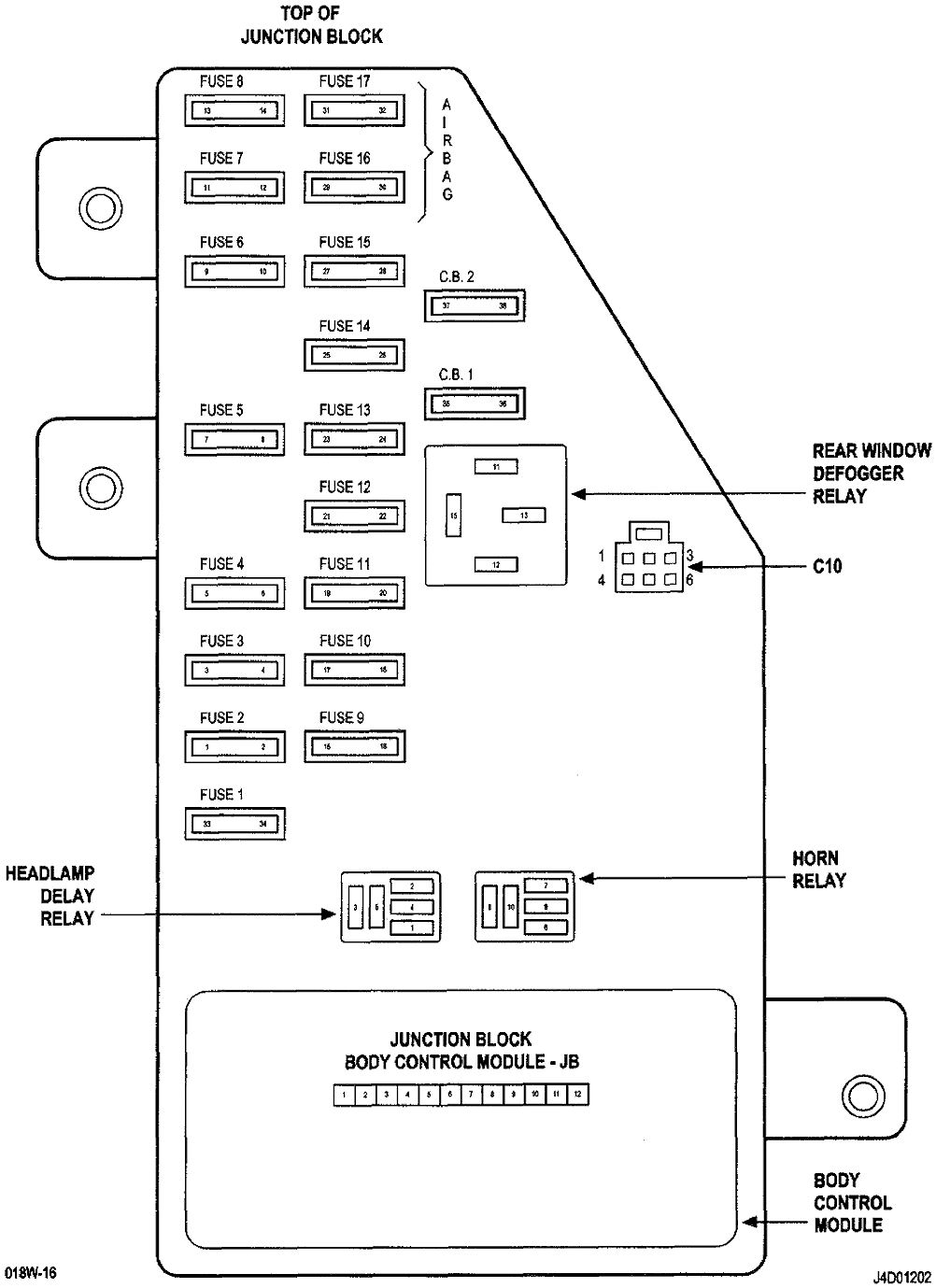
Junction Block
Junction Block